当前位置: 首页 > 知识产权交易 > 专利转让 >

待交易一种鸭鹅养殖笼

专利号:2020204578914 已授权

申请日:2020-04-01发布日期:2022-03-02

立即收藏 立即询价 转让价格:询价

专利摘要

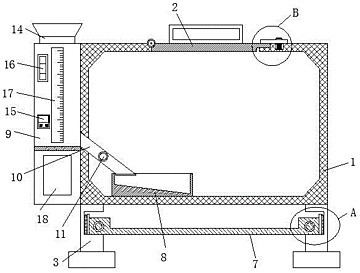
本实用新型为一种鸭鹅养殖笼,包括养殖笼,所述养殖笼的顶部转动铰接有笼门,所述养殖笼上设置有用于对笼门进行固定的锁紧组件,所述养殖笼的底部固定安装有对称设置的两个支腿,且两个支腿相互靠近的一侧固定卡装有同一个托盘,所述养殖笼的底部内壁上设置有喂料皿,所述养殖笼的一侧固定安装有盛料箱,所述盛料箱内设置有饲料,所述盛料箱的一侧固定安装有相连通的连接管,且连接管的一端延伸至喂料皿的上方,所述连接管上固定安装有驱动电机,所述驱动电机的输出轴延伸至连接管内并固定安装有转动轴;本实用新型的养殖笼功能丰富,不仅可以利用养殖笼对鸭鹅进行圈养,而且还可以对其进行定时投料,达到了对鸭鹅进行科学养殖的目的。

交易流程

  • 平台资深顾问将根据买家的需求,提供一对一服务,协助买家挑选到合适的专利。

  • 待买家确认无误后,根据顾问指导进行下单,并签订协议与合同,买家需要支付50%交易款给平台。

  • 平台将负责办理官方变更手续,向国知局提交转让材料。

  • 约10个工作日左右,待买家确认收到专利《变更手续合格通知书》后,向平台支付剩余交易款。

  • 转让成功后,平台会将专利证书原件、专利登记簿副本原件邮寄给买家,同时把交易尾款支付给卖家,保障双方交易顺利。

过户资料

主体资格 转让方提供 受让方提供 平台提供 转让完成,可获得
自然人 身份证复印件,专利证书原件; 身份证复印件
有效个体营业执照
转让申请书
代理委托书
转让协议书
发明人变更声明
专利证书
手续合格通知书
专利登记簿副本
公司 有效的企业营业执照副本复印件,专利证书原件 有效的企业营业执照副本复印件;企业组织机构代码证
平台专属代理事务所将对委托交易全程监督,确保所有交易合同及相关文件合法有效。

发布求购信息