当前位置: 首页 > 知识产权交易 > 专利转让 >

待交易一种建筑施工升降机固定装置

专利号:2020203601881 已授权

申请日:2020-03-20发布日期:2022-03-01

立即收藏 立即询价 转让价格:询价

专利摘要

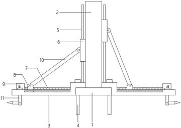
本实用新型公开了一种建筑施工升降机固定装置,包括底座,所述底座上端固定连接有固定架,底座上端两侧均设有压块,压块与底座均插入有固定销,压块上端位于固定架两侧均固定连接有限位杆,限位杆外侧均套设有滑动块,压块上端固定安装有电机,电机一端固定连接有螺纹柱,螺纹柱外侧套设有活动座,活动座与压块滑动连接,活动座与滑动块之间设有支撑杆,压块两端位于电机前后侧均插入有加固销,加固销内部转动连接有转动杆,通过设计有滑动块与加固销,通过滑动块可以上下移动使得装置可以支撑不同高度的固定架,增加装置应用的范围性,通过加固销插入土地中前端可以弯折,使得加固销固定的更加牢靠,安全性高。

交易流程

  • 平台资深顾问将根据买家的需求,提供一对一服务,协助买家挑选到合适的专利。

  • 待买家确认无误后,根据顾问指导进行下单,并签订协议与合同,买家需要支付50%交易款给平台。

  • 平台将负责办理官方变更手续,向国知局提交转让材料。

  • 约10个工作日左右,待买家确认收到专利《变更手续合格通知书》后,向平台支付剩余交易款。

  • 转让成功后,平台会将专利证书原件、专利登记簿副本原件邮寄给买家,同时把交易尾款支付给卖家,保障双方交易顺利。

过户资料

主体资格 转让方提供 受让方提供 平台提供 转让完成,可获得
自然人 身份证复印件,专利证书原件; 身份证复印件
有效个体营业执照
转让申请书
代理委托书
转让协议书
发明人变更声明
专利证书
手续合格通知书
专利登记簿副本
公司 有效的企业营业执照副本复印件,专利证书原件 有效的企业营业执照副本复印件;企业组织机构代码证
平台专属代理事务所将对委托交易全程监督,确保所有交易合同及相关文件合法有效。

发布求购信息