当前位置: 首页 > 知识产权交易 > 专利转让 >

待交易一种机械起升式工程机械转移装置

专利号:2019223709307 已授权

申请日:2019-12-26发布日期:2022-02-28

立即收藏 立即询价 转让价格:询价

专利摘要

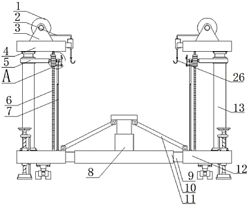
本实用新型公开了一种机械起升式工程机械转移装置,包括两个可移动基座,两个可移动基座之间共同设有调节机构,所述可移动基座的上端一侧固定有第二油缸,所述第二油缸的活塞杆末端固定有顶板,所述顶板上设有连接机构,所述第二油缸上固定有连接板,所述可移动基座的上端另一侧固定有两个固定杆,所述连接板的一侧和两个固定杆上均设有转轴,所述转轴上固定套装有齿轮,其中一个转轴上安装有固定架,所述固定架的下端固定在可移动基座的上端。本实用新型能很好的适应不同规格的工程机械,并且便于和不同规格的工程机械连接固定,有效的提升产品的适用范围,并且便于进行移动,保证位置移动的精准性。

交易流程

  • 平台资深顾问将根据买家的需求,提供一对一服务,协助买家挑选到合适的专利。

  • 待买家确认无误后,根据顾问指导进行下单,并签订协议与合同,买家需要支付50%交易款给平台。

  • 平台将负责办理官方变更手续,向国知局提交转让材料。

  • 约10个工作日左右,待买家确认收到专利《变更手续合格通知书》后,向平台支付剩余交易款。

  • 转让成功后,平台会将专利证书原件、专利登记簿副本原件邮寄给买家,同时把交易尾款支付给卖家,保障双方交易顺利。

过户资料

主体资格 转让方提供 受让方提供 平台提供 转让完成,可获得
自然人 身份证复印件,专利证书原件; 身份证复印件
有效个体营业执照
转让申请书
代理委托书
转让协议书
发明人变更声明
专利证书
手续合格通知书
专利登记簿副本
公司 有效的企业营业执照副本复印件,专利证书原件 有效的企业营业执照副本复印件;企业组织机构代码证
平台专属代理事务所将对委托交易全程监督,确保所有交易合同及相关文件合法有效。

发布求购信息