当前位置: 首页 > 知识产权交易 > 专利转让 >

待交易一种建筑工程用建筑垃圾粉碎设备

专利号:2020208535852 已授权

申请日:2022-02-24发布日期:2022-02-24

立即收藏 立即询价 转让价格:询价

专利摘要

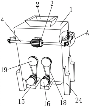
本实用新型涉及垃圾处理设备技术领域,且公开了一种建筑工程用建筑垃圾粉碎设备,包括粉碎箱,所述粉碎箱的顶部固定连接有进料槽,所述进料槽的底部与粉碎箱的内部连通,所述粉碎箱的前侧顶部固定连接有双轴电机,所述双轴电机的左右两侧输出端对称设置有第一转轴,位于双轴电机右侧第一转轴的右端与第一锥齿轮的中部固定连接。该建筑工程用建筑垃圾粉碎设备,通过双轴电机、第一转轴、第一锥齿轮、第二锥齿轮、第二转轴和半齿轮的配合设置,使齿条和连接架达到升降的效果,通过筛网的设置,使建筑垃圾能够均匀的落下,通过驱动电机、主动轮、传动带和从动轮的配合设置,使转杆和第一粉碎刀达到旋转的效果。

交易流程

  • 平台资深顾问将根据买家的需求,提供一对一服务,协助买家挑选到合适的专利。

  • 待买家确认无误后,根据顾问指导进行下单,并签订协议与合同,买家需要支付50%交易款给平台。

  • 平台将负责办理官方变更手续,向国知局提交转让材料。

  • 约10个工作日左右,待买家确认收到专利《变更手续合格通知书》后,向平台支付剩余交易款。

  • 转让成功后,平台会将专利证书原件、专利登记簿副本原件邮寄给买家,同时把交易尾款支付给卖家,保障双方交易顺利。

过户资料

主体资格 转让方提供 受让方提供 平台提供 转让完成,可获得
自然人 身份证复印件,专利证书原件; 身份证复印件
有效个体营业执照
转让申请书
代理委托书
转让协议书
发明人变更声明
专利证书
手续合格通知书
专利登记簿副本
公司 有效的企业营业执照副本复印件,专利证书原件 有效的企业营业执照副本复印件;企业组织机构代码证
平台专属代理事务所将对委托交易全程监督,确保所有交易合同及相关文件合法有效。

发布求购信息