当前位置: 首页 > 知识产权交易 > 专利转让 >

待交易一种园林用多功能除草机

专利号:2020224449545 已授权

申请日:2020-10-28发布日期:2022-02-24

立即收藏 立即询价 转让价格:询价

专利摘要

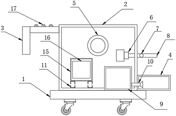
本实用新型公开了一种园林用多功能除草机,具体涉及园林领域,包括底座,所述底座的顶部固定安装有箱体,所述箱体的一侧固定连接有推手,所述箱体的另一侧固定安装有除草箱,所述箱体的内部可拆卸安装有电机,所述箱体的内部固定安装有伸缩杆,且所述伸缩杆的端部贯穿箱体并延伸至箱体的外部,所述伸缩杆的端部活动套装有转杆,所述转杆的外部活动套装有挡板。本实用新型通过设置喷水箱和雾化头,使得除草机在工作的过程中,通过喷水箱喷出的水在雾化头的作用下形成水雾,与空气中的尘土相互吸附并带动尘土下落,避免了尘土飞扬造成的环境的污染和对工作人员身体安全的威胁,提高了该装置的实用性。

交易流程

  • 平台资深顾问将根据买家的需求,提供一对一服务,协助买家挑选到合适的专利。

  • 待买家确认无误后,根据顾问指导进行下单,并签订协议与合同,买家需要支付50%交易款给平台。

  • 平台将负责办理官方变更手续,向国知局提交转让材料。

  • 约10个工作日左右,待买家确认收到专利《变更手续合格通知书》后,向平台支付剩余交易款。

  • 转让成功后,平台会将专利证书原件、专利登记簿副本原件邮寄给买家,同时把交易尾款支付给卖家,保障双方交易顺利。

过户资料

主体资格 转让方提供 受让方提供 平台提供 转让完成,可获得
自然人 身份证复印件,专利证书原件; 身份证复印件
有效个体营业执照
转让申请书
代理委托书
转让协议书
发明人变更声明
专利证书
手续合格通知书
专利登记簿副本
公司 有效的企业营业执照副本复印件,专利证书原件 有效的企业营业执照副本复印件;企业组织机构代码证
平台专属代理事务所将对委托交易全程监督,确保所有交易合同及相关文件合法有效。

发布求购信息