当前位置: 首页 > 知识产权交易 > 专利转让 >

待交易一种使用安全性高的园林用园林耙

专利号:2020210065357 已授权

申请日:2020-06-04发布日期:2022-02-23

立即收藏 立即询价 转让价格:询价

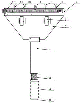
专利摘要

本实用新型公开了园林工具技术领域的一种使用安全性高的园林用园林耙,包括套杆,所述安装板前侧固定设置有装配壳体,所述装配壳体顶部均匀等距插接设置有装配空心杆,所述装配空心杆底端均设置有齿轮,所述装配空心杆左侧插接有螺杆,本实用新型在不使用时,使用人员可转动螺杆带动齿条移动,通过齿条与齿轮的配合,使齿轮带动装配空心杆转动,从而使耙爪转动,使耙爪转动至横向状态即可进行放置和携带,保证放置和携带时的安全性,可以很好的避免外界人员碰到或踩到,提高使用安全性,同时也延长耙爪的使用寿命。

交易流程

  • 平台资深顾问将根据买家的需求,提供一对一服务,协助买家挑选到合适的专利。

  • 待买家确认无误后,根据顾问指导进行下单,并签订协议与合同,买家需要支付50%交易款给平台。

  • 平台将负责办理官方变更手续,向国知局提交转让材料。

  • 约10个工作日左右,待买家确认收到专利《变更手续合格通知书》后,向平台支付剩余交易款。

  • 转让成功后,平台会将专利证书原件、专利登记簿副本原件邮寄给买家,同时把交易尾款支付给卖家,保障双方交易顺利。

过户资料

主体资格 转让方提供 受让方提供 平台提供 转让完成,可获得
自然人 身份证复印件,专利证书原件; 身份证复印件
有效个体营业执照
转让申请书
代理委托书
转让协议书
发明人变更声明
专利证书
手续合格通知书
专利登记簿副本
公司 有效的企业营业执照副本复印件,专利证书原件 有效的企业营业执照副本复印件;企业组织机构代码证
平台专属代理事务所将对委托交易全程监督,确保所有交易合同及相关文件合法有效。

发布求购信息