当前位置: 首页 > 知识产权交易 > 专利转让 >

待交易葡萄柚快速采摘方法

专利号:2017103911965 已授权

申请日:2017-05-27发布日期:2022-02-22

立即收藏 立即询价 转让价格:询价

专利摘要

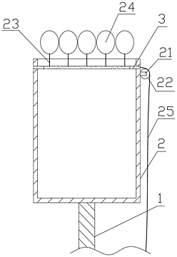
本发明的葡萄柚快速采摘方法涉及一种采摘方法,具体涉及一种高处果实的采摘方法。利用采摘装置采摘葡萄柚,采摘装置包括筒体、弹性网、气囊和支撑杆,筒体固定在支撑杆一端,弹性网连接有弹性绳,弹性绳固定在筒体上,弹性网固定有气囊,弹性网上设有拉绳,拉绳两端固定在支撑杆另一端;采摘步骤包括:(一)手持支撑杆使筒体从下方靠近果实;(二)筒体从果实下方向果实方向移动,在气囊接触到果实后继续向上移动支撑杆,直到果实依次穿过气囊和弹性网的网孔进入筒体内;(三)拉动拉绳收紧弹性网;(四)向下拉动支撑杆,直到果实从枝条上脱落,然后再放松拉绳;(五)重复步骤(一)至步骤(四)。本方案可以同时采摘多个果实。

交易流程

  • 平台资深顾问将根据买家的需求,提供一对一服务,协助买家挑选到合适的专利。

  • 待买家确认无误后,根据顾问指导进行下单,并签订协议与合同,买家需要支付50%交易款给平台。

  • 平台将负责办理官方变更手续,向国知局提交转让材料。

  • 约10个工作日左右,待买家确认收到专利《变更手续合格通知书》后,向平台支付剩余交易款。

  • 转让成功后,平台会将专利证书原件、专利登记簿副本原件邮寄给买家,同时把交易尾款支付给卖家,保障双方交易顺利。

过户资料

主体资格 转让方提供 受让方提供 平台提供 转让完成,可获得
自然人 身份证复印件,专利证书原件; 身份证复印件
有效个体营业执照
转让申请书
代理委托书
转让协议书
发明人变更声明
专利证书
手续合格通知书
专利登记簿副本
公司 有效的企业营业执照副本复印件,专利证书原件 有效的企业营业执照副本复印件;企业组织机构代码证
平台专属代理事务所将对委托交易全程监督,确保所有交易合同及相关文件合法有效。

发布求购信息