当前位置: 首页 > 知识产权交易 > 专利转让 >

待交易一种新型玉米种子选育用筛选装置

专利号:2020207103866 已授权

申请日:2020-05-04发布日期:2022-02-21

立即收藏 立即询价 转让价格:询价

专利摘要

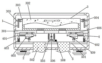
本实用新型公开了一种新型玉米种子选育用筛选装置,包括第一箱体和底座,所述第一箱体的上方开设有开口,所述第一箱体的下表面固接有多个底座,所述第一箱体的内部上方安装有分离装置。该新型玉米种子选育用筛选装置,通过第一箱体、第二箱体、第一横板、第二横板和出料管等结构之间的相互配合,可以通过此装置将种子与杂物进行筛选分离,从而节约了劳动力,通过电机、第三弹簧、凸轮、凹形杆、凸形杆、第一横板和第二箱体等结构之间的相互配合,可以通过电机等带动第二箱体进行震动,从而加速筛选速度,提高了工作效率,通过第二箱体、第一竖板、齿轮和齿牙板等结构之间的相互配合,可以将第二箱体取出并对内部的杂物进行清理。

交易流程

  • 平台资深顾问将根据买家的需求,提供一对一服务,协助买家挑选到合适的专利。

  • 待买家确认无误后,根据顾问指导进行下单,并签订协议与合同,买家需要支付50%交易款给平台。

  • 平台将负责办理官方变更手续,向国知局提交转让材料。

  • 约10个工作日左右,待买家确认收到专利《变更手续合格通知书》后,向平台支付剩余交易款。

  • 转让成功后,平台会将专利证书原件、专利登记簿副本原件邮寄给买家,同时把交易尾款支付给卖家,保障双方交易顺利。

过户资料

主体资格 转让方提供 受让方提供 平台提供 转让完成,可获得
自然人 身份证复印件,专利证书原件; 身份证复印件
有效个体营业执照
转让申请书
代理委托书
转让协议书
发明人变更声明
专利证书
手续合格通知书
专利登记簿副本
公司 有效的企业营业执照副本复印件,专利证书原件 有效的企业营业执照副本复印件;企业组织机构代码证
平台专属代理事务所将对委托交易全程监督,确保所有交易合同及相关文件合法有效。

发布求购信息