当前位置: 首页 > 知识产权交易 > 专利转让 >

待交易一种基于湿度的花卉自动浇灌装置

专利号:2020209739679 已授权

申请日:2020-05-29发布日期:2022-02-21

立即收藏 立即询价 转让价格:询价

专利摘要

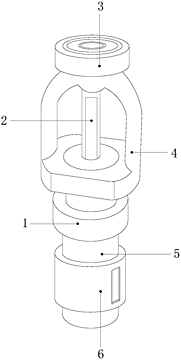
本实用新型公开了一种基于湿度的花卉自动浇灌装置,其结构包括转动连接环、输送连接管、喷块、连接支架、输送管、湿度感应器,本实用新型一种基于湿度的花卉自动浇灌装置,在较为干燥的时候,自动打开水流使其经由喷块喷出进行灌溉,在进行输送水流浇灌的时候,其水流会先经由伸缩管道来到流通槽上,对其上的受力板造成冲击,即可使整个流通槽向上垂直移动,将喷口推出来,即可使水流经由喷口进行喷洒浇灌,当停止水流的时候,喷口便会自动回位缩进外壳内进行密封,通过改进设备的结构,使设备在进行使用未进行喷水的时候,能够自动对其上的喷口进行遮蔽,避免灰尘粘附与其喷口上,影响设备的正常使用。

交易流程

  • 平台资深顾问将根据买家的需求,提供一对一服务,协助买家挑选到合适的专利。

  • 待买家确认无误后,根据顾问指导进行下单,并签订协议与合同,买家需要支付50%交易款给平台。

  • 平台将负责办理官方变更手续,向国知局提交转让材料。

  • 约10个工作日左右,待买家确认收到专利《变更手续合格通知书》后,向平台支付剩余交易款。

  • 转让成功后,平台会将专利证书原件、专利登记簿副本原件邮寄给买家,同时把交易尾款支付给卖家,保障双方交易顺利。

过户资料

主体资格 转让方提供 受让方提供 平台提供 转让完成,可获得
自然人 身份证复印件,专利证书原件; 身份证复印件
有效个体营业执照
转让申请书
代理委托书
转让协议书
发明人变更声明
专利证书
手续合格通知书
专利登记簿副本
公司 有效的企业营业执照副本复印件,专利证书原件 有效的企业营业执照副本复印件;企业组织机构代码证
平台专属代理事务所将对委托交易全程监督,确保所有交易合同及相关文件合法有效。

发布求购信息