当前位置: 首页 > 知识产权交易 > 专利转让 >

待交易一种农业种植挖坑装置

专利号:2020202952946 已授权

申请日:2020-03-11发布日期:2022-02-16

立即收藏 立即询价 转让价格:询价

专利摘要

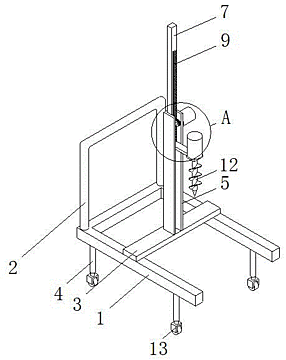
本实用新型公开了一种农业种植挖坑装置,包括有U型框,U型框的基面分别固定连接有扶手和横板,以及底部固定连接有支杆,横板的基面的中心处竖直向上固定连接有立柱,立柱的侧壁开设有滑槽,滑槽的内壁竖直向上滑动连接有升降杆,立柱的侧壁固定连接有第一电机,第一电机的转轴延伸至滑槽的内部,且转轴位于滑槽的内部的一端轴接有齿轮,升降杆的侧壁固定连接有齿条,以及底部固定连接有承板,承板的基面固定连接有第二电机,第二电机的底部为输出端,且轴接有钻头,本实用新型涉及农业技术领域。本实用新型,解决了农业挖坑进行播种前,通常需要一个工作人员拿着铲子进行挖坑,挖坑过程效率很低,同时需要工作人员投入很强的劳动力的问题。

交易流程

  • 平台资深顾问将根据买家的需求,提供一对一服务,协助买家挑选到合适的专利。

  • 待买家确认无误后,根据顾问指导进行下单,并签订协议与合同,买家需要支付50%交易款给平台。

  • 平台将负责办理官方变更手续,向国知局提交转让材料。

  • 约10个工作日左右,待买家确认收到专利《变更手续合格通知书》后,向平台支付剩余交易款。

  • 转让成功后,平台会将专利证书原件、专利登记簿副本原件邮寄给买家,同时把交易尾款支付给卖家,保障双方交易顺利。

过户资料

主体资格 转让方提供 受让方提供 平台提供 转让完成,可获得
自然人 身份证复印件,专利证书原件; 身份证复印件
有效个体营业执照
转让申请书
代理委托书
转让协议书
发明人变更声明
专利证书
手续合格通知书
专利登记簿副本
公司 有效的企业营业执照副本复印件,专利证书原件 有效的企业营业执照副本复印件;企业组织机构代码证
平台专属代理事务所将对委托交易全程监督,确保所有交易合同及相关文件合法有效。

发布求购信息