当前位置: 首页 > 知识产权交易 > 专利转让 >

待交易一种用于农田播种上的电动智能液压花生播种机装置

专利号:2018206094881 已授权

申请日:2018-04-26发布日期:2022-02-16

立即收藏 立即询价 转让价格:询价

专利摘要

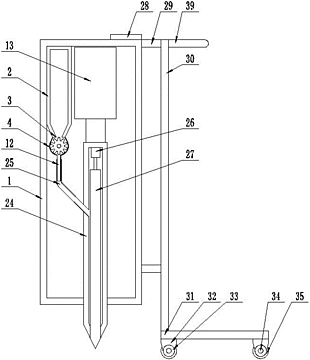
本实用新型公开了一种用于农田播种上的电动智能液压花生播种机装置,包括框架,所述框架外侧表面上设有接地支撑踏板装置,所述框架内部上方设有种子分拣装置,所述框架内部下方设有液压放种装置,所述框架一侧设有蓄电池装置,所述框架上方设有控制器,所述控制器的电源输出端与微型低速步进电机、液压油泵、液压电磁阀和微型直线电机电性连接,所述控制器的电源接入端与蓄电池装置电性连接。本实用新型的有益效果是,结构简单,实用性强。

交易流程

  • 平台资深顾问将根据买家的需求,提供一对一服务,协助买家挑选到合适的专利。

  • 待买家确认无误后,根据顾问指导进行下单,并签订协议与合同,买家需要支付50%交易款给平台。

  • 平台将负责办理官方变更手续,向国知局提交转让材料。

  • 约10个工作日左右,待买家确认收到专利《变更手续合格通知书》后,向平台支付剩余交易款。

  • 转让成功后,平台会将专利证书原件、专利登记簿副本原件邮寄给买家,同时把交易尾款支付给卖家,保障双方交易顺利。

过户资料

主体资格 转让方提供 受让方提供 平台提供 转让完成,可获得
自然人 身份证复印件,专利证书原件; 身份证复印件
有效个体营业执照
转让申请书
代理委托书
转让协议书
发明人变更声明
专利证书
手续合格通知书
专利登记簿副本
公司 有效的企业营业执照副本复印件,专利证书原件 有效的企业营业执照副本复印件;企业组织机构代码证
平台专属代理事务所将对委托交易全程监督,确保所有交易合同及相关文件合法有效。

发布求购信息