当前位置: 首页 > 知识产权交易 > 专利转让 >

待交易一种硫酸锌溶液浓缩装置及其使用方法

专利号:2019111683300 已授权

申请日:2019-11-26发布日期:2022-02-16

立即收藏 立即询价 转让价格:询价

专利摘要

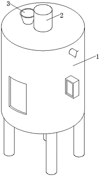
本发明公开了一种硫酸锌溶液浓缩装置,包括浓缩罐、搅拌电机、固定架、加热管、搅拌装置和清理装置,所述浓缩罐底部四角固定有四组支撑腿,所述浓缩罐底部设置有一组出料口,所述浓缩罐顶部中心处安装有一组搅拌电机,所述浓缩罐顶部一侧设置有进料口,所述搅拌电机的机轴前端固定有转动杆,且转动杆设置在浓缩罐内部,所述转动杆穿过固定架,所述固定架上安装有搅拌装置,所述浓缩罐通过固定架分为两组浓缩腔,浓缩腔内的转动杆上均设置有清理装置,所述浓缩罐的一侧边上顶部设置有导气管。该硫酸锌溶液浓缩装置,设计合理,能在浓缩结晶后对罐体内部进行很好的清理,适合推广使用。

交易流程

  • 平台资深顾问将根据买家的需求,提供一对一服务,协助买家挑选到合适的专利。

  • 待买家确认无误后,根据顾问指导进行下单,并签订协议与合同,买家需要支付50%交易款给平台。

  • 平台将负责办理官方变更手续,向国知局提交转让材料。

  • 约10个工作日左右,待买家确认收到专利《变更手续合格通知书》后,向平台支付剩余交易款。

  • 转让成功后,平台会将专利证书原件、专利登记簿副本原件邮寄给买家,同时把交易尾款支付给卖家,保障双方交易顺利。

过户资料

主体资格 转让方提供 受让方提供 平台提供 转让完成,可获得
自然人 身份证复印件,专利证书原件; 身份证复印件
有效个体营业执照
转让申请书
代理委托书
转让协议书
发明人变更声明
专利证书
手续合格通知书
专利登记簿副本
公司 有效的企业营业执照副本复印件,专利证书原件 有效的企业营业执照副本复印件;企业组织机构代码证
平台专属代理事务所将对委托交易全程监督,确保所有交易合同及相关文件合法有效。

发布求购信息