当前位置: 首页 > 知识产权交易 > 专利转让 >

待交易一种深部巷道软弱煤岩松动圈厚度的计算方法及测量装置

专利号:2016109715530 已授权

申请日:2016-10-28发布日期:2022-02-14

立即收藏 立即询价 转让价格:询价

专利摘要

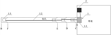
本发明公开了一种深部巷道软弱煤岩松动圈厚度的计算方法及应用该方法的测量装置,该算法包括以下步骤:(1)定义测点的初始位置距巷道表面的距离为r,测点的位移为u,所述测点在深部巷道软弱煤岩钻孔中并位于松动圈范围内,构建如下u随r变化的表达式:其中,u0、k1和k2为系数;(2)测量两个以上测点的u随r变化的过程,计算得出k1和k2的值;(3)将得出的k1和k2的值带入如下公式,计算得出深部巷道软弱煤岩松动圈厚度L的值:L=‑k2ln(20k2/k1)。本发明计算方法简单、合理,容易实施,而且计算准确度高,避免依据经验估算造成的明显误差。本发明测量装置结构简单,操作方便,能够非常好地应用到本发明的计算方法,实现工程实测深部巷道软弱煤岩松动圈厚度及实时显示。

交易流程

  • 平台资深顾问将根据买家的需求,提供一对一服务,协助买家挑选到合适的专利。

  • 待买家确认无误后,根据顾问指导进行下单,并签订协议与合同,买家需要支付50%交易款给平台。

  • 平台将负责办理官方变更手续,向国知局提交转让材料。

  • 约10个工作日左右,待买家确认收到专利《变更手续合格通知书》后,向平台支付剩余交易款。

  • 转让成功后,平台会将专利证书原件、专利登记簿副本原件邮寄给买家,同时把交易尾款支付给卖家,保障双方交易顺利。

过户资料

主体资格 转让方提供 受让方提供 平台提供 转让完成,可获得
自然人 身份证复印件,专利证书原件; 身份证复印件
有效个体营业执照
转让申请书
代理委托书
转让协议书
发明人变更声明
专利证书
手续合格通知书
专利登记簿副本
公司 有效的企业营业执照副本复印件,专利证书原件 有效的企业营业执照副本复印件;企业组织机构代码证
平台专属代理事务所将对委托交易全程监督,确保所有交易合同及相关文件合法有效。

发布求购信息