当前位置: 首页 > 知识产权交易 > 专利转让 >

待交易一种沥青混合料抗折电磁自愈合实验夹具的使用方法

专利号:2019100438818 已授权

申请日:2019-01-17发布日期:2022-02-11

立即收藏 立即询价 转让价格:询价

专利摘要

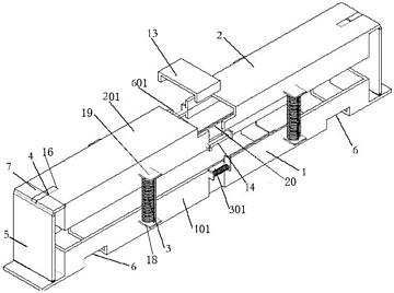
本发明公开了一种沥青混合料抗折电磁自愈合实验夹具的使用方法,包括以下步骤,将夹具的下压头开口对准抗折实验仪的两个抗折实验仪器压头放置,将上下包围盒撑开至可将沥青混合料试件从侧面放入的宽度,将沥青混合料抗折试件放入下包围盒和辅下包围盒与上包围盒和辅上包围盒中,此时试件与抗折实验仪器压头接触同时与下包围盒和辅下包围盒底部不接触,将夹具撑开,此时试件与夹具不接触,无围压,本发明试验方法通过间断加热,避免了进行沥青混合料抗折自愈合实验在对长方体试件进行压断后自愈合时,试件中部温度过高,影响实验结果的精确性问题;也避免了难以在同一模具中反复进行愈合试验,影响实验便捷性问题

交易流程

  • 平台资深顾问将根据买家的需求,提供一对一服务,协助买家挑选到合适的专利。

  • 待买家确认无误后,根据顾问指导进行下单,并签订协议与合同,买家需要支付50%交易款给平台。

  • 平台将负责办理官方变更手续,向国知局提交转让材料。

  • 约10个工作日左右,待买家确认收到专利《变更手续合格通知书》后,向平台支付剩余交易款。

  • 转让成功后,平台会将专利证书原件、专利登记簿副本原件邮寄给买家,同时把交易尾款支付给卖家,保障双方交易顺利。

过户资料

主体资格 转让方提供 受让方提供 平台提供 转让完成,可获得
自然人 身份证复印件,专利证书原件; 身份证复印件
有效个体营业执照
转让申请书
代理委托书
转让协议书
发明人变更声明
专利证书
手续合格通知书
专利登记簿副本
公司 有效的企业营业执照副本复印件,专利证书原件 有效的企业营业执照副本复印件;企业组织机构代码证
平台专属代理事务所将对委托交易全程监督,确保所有交易合同及相关文件合法有效。

发布求购信息