当前位置: 首页 > 知识产权交易 > 专利转让 >

待交易 一种山猪养殖用泥浴装置

专利号:2020103915686 已授权

申请日:2020-05-11发布日期:2022-02-08

立即收藏 立即询价 转让价格:询价

专利摘要

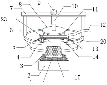
本发明属于山猪养殖技术领域,尤其是一种山猪养殖用泥浴装置,针对现有的跑山猪没有自然的泥潭进行泥浴除虫的问题,现提出以下方案,包括池体,所述池体底部的中央内壁开设有泥槽,所述池体的顶部两侧外壁均固定安装有竖直设置的第一支撑杆,且两个第一支撑杆的顶部外壁固定安装有同一个支撑顶板,所述支撑顶板的顶部中央外壁固定安装有转动电机,且转动电机的输出轴固定安装有竖直设置的第一电动伸缩杆,所述第一电动伸缩杆的底部外壁固定安装有第一支撑板。本发明中,该山猪养殖用泥浴装置,通过设置泥槽,可以在泥槽的内部放入淤泥,让山猪在淤泥里进行泥浴,以便除去山猪体表的寄生虫和蚊虫等,保证山猪的健康成长。

交易流程

  • 平台资深顾问将根据买家的需求,提供一对一服务,协助买家挑选到合适的专利。

  • 待买家确认无误后,根据顾问指导进行下单,并签订协议与合同,买家需要支付50%交易款给平台。

  • 平台将负责办理官方变更手续,向国知局提交转让材料。

  • 约10个工作日左右,待买家确认收到专利《变更手续合格通知书》后,向平台支付剩余交易款。

  • 转让成功后,平台会将专利证书原件、专利登记簿副本原件邮寄给买家,同时把交易尾款支付给卖家,保障双方交易顺利。

过户资料

主体资格 转让方提供 受让方提供 平台提供 转让完成,可获得
自然人 身份证复印件,专利证书原件; 身份证复印件
有效个体营业执照
转让申请书
代理委托书
转让协议书
发明人变更声明
专利证书
手续合格通知书
专利登记簿副本
公司 有效的企业营业执照副本复印件,专利证书原件 有效的企业营业执照副本复印件;企业组织机构代码证
平台专属代理事务所将对委托交易全程监督,确保所有交易合同及相关文件合法有效。

发布求购信息