当前位置: 首页 > 知识产权交易 > 专利转让 >

待交易一种可收集墙灰的多功能刷墙设备

专利号:2020108032754 已授权

申请日:2020-08-11发布日期:2022-01-24

立即收藏 立即询价 转让价格:询价

专利摘要

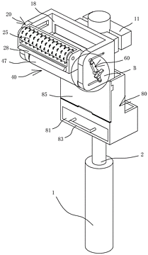
本发明公开了一种可收集墙灰的多功能刷墙设备,包括底座,底座上端设有伸缩杆,伸缩杆上端设有便于拆装的支撑机构,支撑机构上端设有清除墙皮的清理机构,支撑机构下端设有墙面上漆的刷漆机构,清理机构与刷漆机构之间设有控制机构,伸缩杆中间设有收集墙灰的收集机构,本发明的有益效果:本发明运用控制机构控制清理架和移动架的位置,使本发明可实现墙皮清除与墙面刷漆的功能,提高了便利性。

交易流程

  • 平台资深顾问将根据买家的需求,提供一对一服务,协助买家挑选到合适的专利。

  • 待买家确认无误后,根据顾问指导进行下单,并签订协议与合同,买家需要支付50%交易款给平台。

  • 平台将负责办理官方变更手续,向国知局提交转让材料。

  • 约10个工作日左右,待买家确认收到专利《变更手续合格通知书》后,向平台支付剩余交易款。

  • 转让成功后,平台会将专利证书原件、专利登记簿副本原件邮寄给买家,同时把交易尾款支付给卖家,保障双方交易顺利。

过户资料

主体资格 转让方提供 受让方提供 平台提供 转让完成,可获得
自然人 身份证复印件,专利证书原件; 身份证复印件
有效个体营业执照
转让申请书
代理委托书
转让协议书
发明人变更声明
专利证书
手续合格通知书
专利登记簿副本
公司 有效的企业营业执照副本复印件,专利证书原件 有效的企业营业执照副本复印件;企业组织机构代码证
平台专属代理事务所将对委托交易全程监督,确保所有交易合同及相关文件合法有效。

发布求购信息