当前位置: 首页 > 知识产权交易 > 专利转让 >

待交易一种手持式省力型涂料粉刷装置

专利号:2019104387711 已授权

申请日:2019-05-24发布日期:2022-01-18

立即收藏 立即询价 转让价格:询价

专利摘要

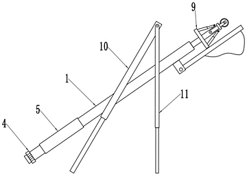
本发明涉及粉刷装置技术领域,具体是一种手持式省力型涂料粉刷装置,包括粉刷杆、滑杆和粉刷机构;所述粉刷杆的内部转动安装有螺杆,所述滑杆滑动安装在粉刷杆的内部,且滑杆与螺杆螺纹连接,所述粉刷机构安装在滑杆的另一端;所述粉刷杆的前后两侧对称设置有两根第一支架,第一支架的外侧转动安装有第二支架,所述第一支架的内侧开设有滑槽,滑槽的内部滑动安装有滑块,滑块与粉刷杆转动连接。本发明通过在粉刷杆上转动第一支架,并在第一支架上转动第二支架,使第一支架、第二支架与地面形成一个三角形的支撑架对粉刷杆进行支撑,从而将粉刷杆与手部的压力转移到对支撑架的压力,缓解了使用者的手部疲劳。

交易流程

  • 平台资深顾问将根据买家的需求,提供一对一服务,协助买家挑选到合适的专利。

  • 待买家确认无误后,根据顾问指导进行下单,并签订协议与合同,买家需要支付50%交易款给平台。

  • 平台将负责办理官方变更手续,向国知局提交转让材料。

  • 约10个工作日左右,待买家确认收到专利《变更手续合格通知书》后,向平台支付剩余交易款。

  • 转让成功后,平台会将专利证书原件、专利登记簿副本原件邮寄给买家,同时把交易尾款支付给卖家,保障双方交易顺利。

过户资料

主体资格 转让方提供 受让方提供 平台提供 转让完成,可获得
自然人 身份证复印件,专利证书原件; 身份证复印件
有效个体营业执照
转让申请书
代理委托书
转让协议书
发明人变更声明
专利证书
手续合格通知书
专利登记簿副本
公司 有效的企业营业执照副本复印件,专利证书原件 有效的企业营业执照副本复印件;企业组织机构代码证
平台专属代理事务所将对委托交易全程监督,确保所有交易合同及相关文件合法有效。

发布求购信息