当前位置: 首页 > 知识产权交易 > 专利转让 >

待交易一种仿人工式造纸用抄纸设备

专利号:2018108690658 已授权

申请日:2018-08-02发布日期:2022-01-17

立即收藏 立即询价 转让价格:询价

专利摘要

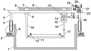
本发明公开了一种仿人工式造纸用抄纸设备,包括纸浆缸、提升机构、横板和纸帘安装框;所述纸浆缸的两端对称安装有固定板,固定板上安装有提升机构,提升机构的上端与横板固定连接;所述纸浆缸内设置有纸帘安装框,纸帘安装框的左端与第一竖立杆铰接,纸帘安装框的右端与第二竖立杆铰接。本发明设计新颖,曲轴转动时通过连接杆和推动杆的作用带动第二竖立杆上下移动,第二竖立杆带动纸帘安装框摆动实现了纸帘的上下摆动,实现了均匀有效的抄纸工作,同时设置的第一螺纹杆转动时通过螺纹套筒实现纸帘的左右移动,有效提高了抄纸的质量和抄纸效率,降低了人工成本的投入,且大幅度的提高了抄纸的速度,具有广泛的应用价值。

交易流程

  • 平台资深顾问将根据买家的需求,提供一对一服务,协助买家挑选到合适的专利。

  • 待买家确认无误后,根据顾问指导进行下单,并签订协议与合同,买家需要支付50%交易款给平台。

  • 平台将负责办理官方变更手续,向国知局提交转让材料。

  • 约10个工作日左右,待买家确认收到专利《变更手续合格通知书》后,向平台支付剩余交易款。

  • 转让成功后,平台会将专利证书原件、专利登记簿副本原件邮寄给买家,同时把交易尾款支付给卖家,保障双方交易顺利。

过户资料

主体资格 转让方提供 受让方提供 平台提供 转让完成,可获得
自然人 身份证复印件,专利证书原件; 身份证复印件
有效个体营业执照
转让申请书
代理委托书
转让协议书
发明人变更声明
专利证书
手续合格通知书
专利登记簿副本
公司 有效的企业营业执照副本复印件,专利证书原件 有效的企业营业执照副本复印件;企业组织机构代码证
平台专属代理事务所将对委托交易全程监督,确保所有交易合同及相关文件合法有效。

发布求购信息