当前位置: 首页 > 知识产权交易 > 专利转让 >

待交易一种灯心草切割捆绑加工台

专利号:2018107605130 已授权

申请日:2018-07-12发布日期:2022-01-17

立即收藏 立即询价 转让价格:询价

专利摘要

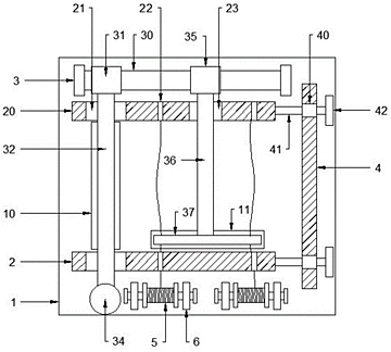
本发明公开了一种灯心草切割捆绑加工台,包括加工台、前护板、后护板、转轴支架、切草压杆、切线压杆、线筒,所述加工台的顶面上并排固定着用于挡料的前护板和后护板,所述后护板和前护板的后端设有转动装置,所述转动装置上并排固定着切草压杆和切线压杆,所述切草压杆上设有切草装置,所述切线压杆上设有切线装置,所述前护板的正前方设有线筒,所述线筒的线束穿过开设在前护板和后护板上的夹线槽,所述夹线槽内设有夹紧装置;本发明通过联动设置的切草装置和切线装置,一次动作完成了灯心草的快速切断和自动铺设捆扎线束的操作,大大节省了穿设捆扎灯心草的时间,提高了灯心草的处理效率。

交易流程

  • 平台资深顾问将根据买家的需求,提供一对一服务,协助买家挑选到合适的专利。

  • 待买家确认无误后,根据顾问指导进行下单,并签订协议与合同,买家需要支付50%交易款给平台。

  • 平台将负责办理官方变更手续,向国知局提交转让材料。

  • 约10个工作日左右,待买家确认收到专利《变更手续合格通知书》后,向平台支付剩余交易款。

  • 转让成功后,平台会将专利证书原件、专利登记簿副本原件邮寄给买家,同时把交易尾款支付给卖家,保障双方交易顺利。

过户资料

主体资格 转让方提供 受让方提供 平台提供 转让完成,可获得
自然人 身份证复印件,专利证书原件; 身份证复印件
有效个体营业执照
转让申请书
代理委托书
转让协议书
发明人变更声明
专利证书
手续合格通知书
专利登记簿副本
公司 有效的企业营业执照副本复印件,专利证书原件 有效的企业营业执照副本复印件;企业组织机构代码证
平台专属代理事务所将对委托交易全程监督,确保所有交易合同及相关文件合法有效。

发布求购信息