当前位置: 首页 > 知识产权交易 > 专利转让 >

待交易一种具有自动清理功能的牲畜喂食槽

专利号:2018104861934 已授权

申请日:2018-05-21发布日期:2022-01-17

立即收藏 立即询价 转让价格:询价

专利摘要

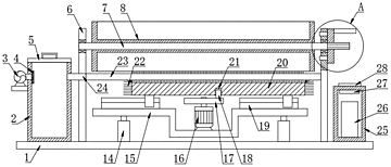
本发明公开了一种具有自动清理功能的牲畜喂食槽,包括底座,底座顶部左支板和右支板之间转动连接有转轴,转轴上固定安装有食槽,食槽顶部和底部对称设置有矩形槽口;底座顶部固定设置有左右两个电动推杆,电动推杆顶端推杆固定连接有升降板,升降板顶部左右两侧对称设置有滑轨,滑轨上方通过滑块滑动连接有移动块,移动块顶壁和侧壁均匀覆盖有刷毛;移动块底部中间位置开设有条形槽,升降板顶部中间位置固定连接有减速电机,减速电机顶端电机轴固定连接有圆盘,圆盘顶部右侧固定连接有销轴。本发明清理时还有一个槽口可以使用,方便牲畜进食;通过圆盘转动使得刷毛的左右移动对食槽底部槽口内壁进行清理,清理自动进行,效率高。

交易流程

  • 平台资深顾问将根据买家的需求,提供一对一服务,协助买家挑选到合适的专利。

  • 待买家确认无误后,根据顾问指导进行下单,并签订协议与合同,买家需要支付50%交易款给平台。

  • 平台将负责办理官方变更手续,向国知局提交转让材料。

  • 约10个工作日左右,待买家确认收到专利《变更手续合格通知书》后,向平台支付剩余交易款。

  • 转让成功后,平台会将专利证书原件、专利登记簿副本原件邮寄给买家,同时把交易尾款支付给卖家,保障双方交易顺利。

过户资料

主体资格 转让方提供 受让方提供 平台提供 转让完成,可获得
自然人 身份证复印件,专利证书原件; 身份证复印件
有效个体营业执照
转让申请书
代理委托书
转让协议书
发明人变更声明
专利证书
手续合格通知书
专利登记簿副本
公司 有效的企业营业执照副本复印件,专利证书原件 有效的企业营业执照副本复印件;企业组织机构代码证
平台专属代理事务所将对委托交易全程监督,确保所有交易合同及相关文件合法有效。

发布求购信息