当前位置: 首页 > 知识产权交易 > 专利转让 >

已预定一种建筑施工用电线接头上锡器

专利号:2019110279004 已授权

申请日:2019-10-28发布日期:2022-01-17

立即收藏 立即询价 转让价格:询价

专利摘要

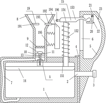
本发明涉及一种上锡器,尤其涉及一种建筑施工用电线接头上锡器。技术问题是如何设计一种能够避免电线皮被烧坏影响美观,并且避免锡液溅出对手造成伤害的建筑施工用电线接头上锡器。一种建筑施工用电线接头上锡器,包括有加热箱、进料管、盖子、隔热层、防烫把手等;加热箱外右侧面固接有可隔绝温度的隔热层,隔热层右侧面固接有防烫把手,防烫把手左侧上部开有起导向作用的竖孔。本发明通过将锡液倒入加热箱内加热,再移动本装置使得电线移动至透明放置管内,推动横板向下移动,即可使得锡液对电线接头进行上锡,通过挡块的作用,能避免锡液溅出对人的手造成伤害,并且通过透明放置管的作用,能让人们清楚的知道锡液的位置,避免电线皮被烧坏。

交易流程

  • 平台资深顾问将根据买家的需求,提供一对一服务,协助买家挑选到合适的专利。

  • 待买家确认无误后,根据顾问指导进行下单,并签订协议与合同,买家需要支付50%交易款给平台。

  • 平台将负责办理官方变更手续,向国知局提交转让材料。

  • 约10个工作日左右,待买家确认收到专利《变更手续合格通知书》后,向平台支付剩余交易款。

  • 转让成功后,平台会将专利证书原件、专利登记簿副本原件邮寄给买家,同时把交易尾款支付给卖家,保障双方交易顺利。

过户资料

主体资格 转让方提供 受让方提供 平台提供 转让完成,可获得
自然人 身份证复印件,专利证书原件; 身份证复印件
有效个体营业执照
转让申请书
代理委托书
转让协议书
发明人变更声明
专利证书
手续合格通知书
专利登记簿副本
公司 有效的企业营业执照副本复印件,专利证书原件 有效的企业营业执照副本复印件;企业组织机构代码证
平台专属代理事务所将对委托交易全程监督,确保所有交易合同及相关文件合法有效。

发布求购信息