当前位置: 首页 > 知识产权交易 > 专利转让 >

待交易一种杜松子精油生产用物理压榨工艺处理系统

专利号:2018100828867 已授权

申请日:2018-01-29发布日期:2022-01-14

立即收藏 立即询价 转让价格:询价

专利摘要

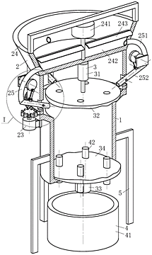
本发明属于植物精油提取设备技术领域,具体的说是一种杜松子精油生产用物理压榨工艺处理系统,包括压榨桶、进料模块、压榨模块、出液模块和支腿;压榨桶上部转动安装着进料模块;植物种子进入进料模块后,旋转电机驱动壳体转动,使得植物种子沿着各个摆动单元进入壳体内部,并最终落入压榨桶内,通过摆动单元摆动,实现出料端口上下移动,促使植物种子均匀的洒在压榨桶内;压榨桶和进料模块内部设有压榨模块;出液模块安装在压榨桶底部;出液模块配合压榨模块,使得压榨出的精油自动流出。本发明特别适用于杜松子类植物种子的精油提取;能够将原料均匀布置在承压面上,使得压榨均匀,从而提高精油的提取率。

交易流程

  • 平台资深顾问将根据买家的需求,提供一对一服务,协助买家挑选到合适的专利。

  • 待买家确认无误后,根据顾问指导进行下单,并签订协议与合同,买家需要支付50%交易款给平台。

  • 平台将负责办理官方变更手续,向国知局提交转让材料。

  • 约10个工作日左右,待买家确认收到专利《变更手续合格通知书》后,向平台支付剩余交易款。

  • 转让成功后,平台会将专利证书原件、专利登记簿副本原件邮寄给买家,同时把交易尾款支付给卖家,保障双方交易顺利。

过户资料

主体资格 转让方提供 受让方提供 平台提供 转让完成,可获得
自然人 身份证复印件,专利证书原件; 身份证复印件
有效个体营业执照
转让申请书
代理委托书
转让协议书
发明人变更声明
专利证书
手续合格通知书
专利登记簿副本
公司 有效的企业营业执照副本复印件,专利证书原件 有效的企业营业执照副本复印件;企业组织机构代码证
平台专属代理事务所将对委托交易全程监督,确保所有交易合同及相关文件合法有效。

发布求购信息