当前位置: 首页 > 知识产权交易 > 专利转让 >

待交易种植大棚的温度控制系统

专利号:2018103864225 已授权

申请日:2018-04-26发布日期:2022-01-05

立即收藏 立即询价 转让价格:询价

专利摘要

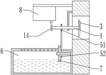
本发明属于温室栽培领域,具体涉及种植大棚的温度控制系统,针对现有技术中,高温期间,大棚散热困难的问题,提出了以下方案:种植大棚的温度控制系统,包括大棚本体,大棚本体包括棚壁,棚壁上开有通风孔,所述通风孔内安装有通电可旋转的风扇;风扇连有水平轴,水平轴的左端设有第一皮带轮,第一风扇下方设有水箱,水箱侧壁设有可旋转的第二皮带轮,第二皮带轮与第一皮带轮皮带连接,与第二皮带轮端部固接的圆盘周向设有叶片,叶片在使用时一部分位于水箱的液面之下,水箱上设有可摆动的筛板,筛板的自由端与第二皮带轮偏心球铰,筛板上方设有药箱。

交易流程

  • 平台资深顾问将根据买家的需求,提供一对一服务,协助买家挑选到合适的专利。

  • 待买家确认无误后,根据顾问指导进行下单,并签订协议与合同,买家需要支付50%交易款给平台。

  • 平台将负责办理官方变更手续,向国知局提交转让材料。

  • 约10个工作日左右,待买家确认收到专利《变更手续合格通知书》后,向平台支付剩余交易款。

  • 转让成功后,平台会将专利证书原件、专利登记簿副本原件邮寄给买家,同时把交易尾款支付给卖家,保障双方交易顺利。

过户资料

主体资格 转让方提供 受让方提供 平台提供 转让完成,可获得
自然人 身份证复印件,专利证书原件; 身份证复印件
有效个体营业执照
转让申请书
代理委托书
转让协议书
发明人变更声明
专利证书
手续合格通知书
专利登记簿副本
公司 有效的企业营业执照副本复印件,专利证书原件 有效的企业营业执照副本复印件;企业组织机构代码证
平台专属代理事务所将对委托交易全程监督,确保所有交易合同及相关文件合法有效。

发布求购信息