当前位置: 首页 > 知识产权交易 > 专利转让 >

待交易一种摇摆式多机位手机辅助安置装置

专利号:2017113037949 已授权

申请日:2017-12-11发布日期:2021-12-30

立即收藏 立即询价 转让价格:询价

专利摘要

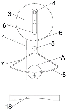
本发明公开了一种摇摆式多机位手机辅助安置装置,包括支架、电机、摆动杆、轨道板、安置板、固定夹板和滑动夹板,所述支架上端设有电机,电机的输出端设有转盘,转盘的正面设有传动凸起,支架正面设有支撑转轴,支撑转轴外围设有摆动杆,摆动杆上设有传动滑槽,摆动杆下端设有悬挂架杆和轨道板,轨道板上设有条形轨道槽和安置板,安置板下端通过阻尼转轴连接弧形底板,弧形底板下端设有滑动滚轮、铅垂螺纹底杆和配重固定螺母,安置板上端设有固定夹板、安置滑槽和滑动夹板。本发明能够安置多个手机并同时夹紧并带动摇摆,在需要时可选择任意一安置板下方的配重固定螺母向下拧动,这样能够不影响其它手机的同时稳定保持该安置板水平。

交易流程

  • 平台资深顾问将根据买家的需求,提供一对一服务,协助买家挑选到合适的专利。

  • 待买家确认无误后,根据顾问指导进行下单,并签订协议与合同,买家需要支付50%交易款给平台。

  • 平台将负责办理官方变更手续,向国知局提交转让材料。

  • 约10个工作日左右,待买家确认收到专利《变更手续合格通知书》后,向平台支付剩余交易款。

  • 转让成功后,平台会将专利证书原件、专利登记簿副本原件邮寄给买家,同时把交易尾款支付给卖家,保障双方交易顺利。

过户资料

主体资格 转让方提供 受让方提供 平台提供 转让完成,可获得
自然人 身份证复印件,专利证书原件; 身份证复印件
有效个体营业执照
转让申请书
代理委托书
转让协议书
发明人变更声明
专利证书
手续合格通知书
专利登记簿副本
公司 有效的企业营业执照副本复印件,专利证书原件 有效的企业营业执照副本复印件;企业组织机构代码证
平台专属代理事务所将对委托交易全程监督,确保所有交易合同及相关文件合法有效。

发布求购信息