当前位置: 首页 > 知识产权交易 > 专利转让 >

待交易一种用于汽车曲轴的清洗装置

专利号:2018107053934 已授权

申请日:2018-07-02发布日期:2021-12-15

立即收藏 立即询价 转让价格:询价

专利摘要

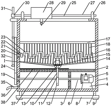
本发明公开了一种用于汽车曲轴的清洗装置,包括壳体,壳体内部下方固定连接有水平隔板,所述水平隔板下方中部固定连接有纵向隔板,纵向隔板右侧固定连接有电机座,所述电机座上方固定连接有电机,电机输出端固定连接有水平转轴,所述水平转轴中部固定连接有变位刷洗装置,壳体内部上方固定连接有水平连杆,水平连杆下方固定连接有第二刷毛,水平转轴左端穿过壳体连接有主动齿轮,主动齿轮上方固定连接有驱动装置,驱动装置与曲轴连接。与现有技术相比,本发明的有益效果是:本发明结构简单,使用方便,在使用时通过定位清洗与变位清洗两种倾斜方式进行清洗,使得清洗更加彻底,更加干净,此外装置还能够将清洗水进行收集再利用。

交易流程

  • 平台资深顾问将根据买家的需求,提供一对一服务,协助买家挑选到合适的专利。

  • 待买家确认无误后,根据顾问指导进行下单,并签订协议与合同,买家需要支付50%交易款给平台。

  • 平台将负责办理官方变更手续,向国知局提交转让材料。

  • 约10个工作日左右,待买家确认收到专利《变更手续合格通知书》后,向平台支付剩余交易款。

  • 转让成功后,平台会将专利证书原件、专利登记簿副本原件邮寄给买家,同时把交易尾款支付给卖家,保障双方交易顺利。

过户资料

主体资格 转让方提供 受让方提供 平台提供 转让完成,可获得
自然人 身份证复印件,专利证书原件; 身份证复印件
有效个体营业执照
转让申请书
代理委托书
转让协议书
发明人变更声明
专利证书
手续合格通知书
专利登记簿副本
公司 有效的企业营业执照副本复印件,专利证书原件 有效的企业营业执照副本复印件;企业组织机构代码证
平台专属代理事务所将对委托交易全程监督,确保所有交易合同及相关文件合法有效。

发布求购信息