当前位置: 首页 > 知识产权交易 > 专利转让 >

待交易一种具有石墨烯涂层的耐腐蚀接地装置

专利号:CN201821996250.5 已授权

申请日:2023-02-21发布日期:2023-02-21

立即收藏 立即询价 转让价格:询价

专利摘要

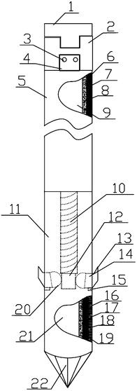
本实用新型公开了一种具有石墨烯涂层的耐腐蚀接地装置,属于接地技术领域,所述装置包括驱动头、冲击头、芯棒、接地头和接地头尖头,所述驱动头套合在冲击头,所述冲击头套合在芯棒上,所述芯棒与接地头螺纹连接,所述接地头与接地头尖头一体成型设置。本实用新型导电优越,电阻稳定,机械寿命长,免维护,在常温条件下不受强酸强碱和有机溶液及电偶腐蚀,应用范围广泛,实用不受环境气候条件的限制;同时通过设置了防盗部件,从而使得接地装置更好的防盗,安全性更高。

交易流程

  • 平台资深顾问将根据买家的需求,提供一对一服务,协助买家挑选到合适的专利。

  • 待买家确认无误后,根据顾问指导进行下单,并签订协议与合同,买家需要支付50%交易款给平台。

  • 平台将负责办理官方变更手续,向国知局提交转让材料。

  • 约10个工作日左右,待买家确认收到专利《变更手续合格通知书》后,向平台支付剩余交易款。

  • 转让成功后,平台会将专利证书原件、专利登记簿副本原件邮寄给买家,同时把交易尾款支付给卖家,保障双方交易顺利。

过户资料

主体资格 转让方提供 受让方提供 平台提供 转让完成,可获得
自然人 身份证复印件,专利证书原件; 身份证复印件
有效个体营业执照
转让申请书
代理委托书
转让协议书
发明人变更声明
专利证书
手续合格通知书
专利登记簿副本
公司 有效的企业营业执照副本复印件,专利证书原件 有效的企业营业执照副本复印件;企业组织机构代码证
平台专属代理事务所将对委托交易全程监督,确保所有交易合同及相关文件合法有效。

发布求购信息