当前位置: 首页 > 知识产权交易 > 专利转让 >

待交易一种粉末冶金用除尘装置

专利号:CN201821783609.0 已授权

申请日:2023-02-21发布日期:2023-02-21

立即收藏 立即询价 转让价格:询价

专利摘要

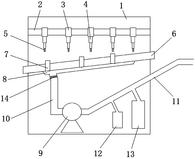
本实用新型公开一种粉末冶金用除尘装置,包括除尘箱所述除尘箱内从上至下依次设有设有横梁、输送槽和粉尘分离装置;所述横梁上套设有多个调节筒,所述每个调节筒下部固定安装有1个伸缩杆,每个伸缩杆下端固定连接有1个旋转毛刷头;所述输送槽两侧边上分别间隔均匀设有多个细软毛刷头;所述粉尘分离装置包括引风罩和引风机,所述引风罩紧贴输送槽下表面,引风罩通过引尘管与引风机的输入端连接,所述引风机的输出端与出风管首端连接;所述出风管末端延伸至除尘箱外部;出风管两端管道之间连通有金属粉末收集箱,出风管的末端与金属粉末收集箱之间的管道上还连通有粉尘收集箱。

交易流程

  • 平台资深顾问将根据买家的需求,提供一对一服务,协助买家挑选到合适的专利。

  • 待买家确认无误后,根据顾问指导进行下单,并签订协议与合同,买家需要支付50%交易款给平台。

  • 平台将负责办理官方变更手续,向国知局提交转让材料。

  • 约10个工作日左右,待买家确认收到专利《变更手续合格通知书》后,向平台支付剩余交易款。

  • 转让成功后,平台会将专利证书原件、专利登记簿副本原件邮寄给买家,同时把交易尾款支付给卖家,保障双方交易顺利。

过户资料

主体资格 转让方提供 受让方提供 平台提供 转让完成,可获得
自然人 身份证复印件,专利证书原件; 身份证复印件
有效个体营业执照
转让申请书
代理委托书
转让协议书
发明人变更声明
专利证书
手续合格通知书
专利登记簿副本
公司 有效的企业营业执照副本复印件,专利证书原件 有效的企业营业执照副本复印件;企业组织机构代码证
平台专属代理事务所将对委托交易全程监督,确保所有交易合同及相关文件合法有效。

发布求购信息