当前位置: 首页 > 知识产权交易 > 专利转让 >

待交易一种制作蛋黄酥用的打面机

专利号:CN201820702501.8 已授权

申请日:2023-02-04发布日期:2023-02-04

立即收藏 立即询价 转让价格:询价

专利摘要

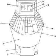
本实用新型公开了一种制作蛋黄酥用的打面机,包括打面机底座和控制箱,所述打面机底座上安装有电动旋转盘,所述电动旋转盘上面固定安装打面桶,能够带动打面桶旋转;所述控制箱底部与防护罩的上边缘固定连接;所述防护罩的下边缘与打面桶的上边缘卡合;所述控制箱内安装有电机,电机的转轴通过升降杆与打面棍连接,所述升降杆下端竖直连接有三个打面棍;所述安装在升降杆两端的打面棍在靠近打面桶内侧壁的一侧为刮面器结构;位于升降杆两端的打面棍不仅起到打面的作用,还能够将粘在打面桶内侧壁的面刮掉,所述控制箱上设置有启动按钮和电源开关,本实用新型不仅提高了打面效率,节省时间,而且结构简单,降低成本。

交易流程

  • 平台资深顾问将根据买家的需求,提供一对一服务,协助买家挑选到合适的专利。

  • 待买家确认无误后,根据顾问指导进行下单,并签订协议与合同,买家需要支付50%交易款给平台。

  • 平台将负责办理官方变更手续,向国知局提交转让材料。

  • 约10个工作日左右,待买家确认收到专利《变更手续合格通知书》后,向平台支付剩余交易款。

  • 转让成功后,平台会将专利证书原件、专利登记簿副本原件邮寄给买家,同时把交易尾款支付给卖家,保障双方交易顺利。

过户资料

主体资格 转让方提供 受让方提供 平台提供 转让完成,可获得
自然人 身份证复印件,专利证书原件; 身份证复印件
有效个体营业执照
转让申请书
代理委托书
转让协议书
发明人变更声明
专利证书
手续合格通知书
专利登记簿副本
公司 有效的企业营业执照副本复印件,专利证书原件 有效的企业营业执照副本复印件;企业组织机构代码证
平台专属代理事务所将对委托交易全程监督,确保所有交易合同及相关文件合法有效。

发布求购信息