当前位置: 首页 > 知识产权交易 > 专利转让 >

待交易一种低压抽出式开关柜

专利号:CN201820009034.0 已授权

申请日:2023-02-04发布日期:2023-02-04

立即收藏 立即询价 转让价格:询价

专利摘要

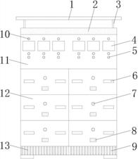
本实用新型公开了一种低压抽出式开关柜,包括上盖板、仪表、功能室、导热铜管、温度感应器和散热铜排,所述上盖板底部四角通过支柱固定在散热箱上部四角,所述散热箱内侧上部设置有散热铜排,所述功能室前端面中部安装有仪表,所述功能室后方设置有母线室,所述母线室内侧中部横向布置有导热铜管,所述功能室下方设置有抽屉单元,所述抽屉单元后壁设置有导热铜管,且导热铜管上部安装有温度感应器,所述抽屉单元后方设置有电缆室,所述电缆室内侧中部竖向布置有导热铜管,所述进风箱内侧上部安装有进风扇。本实用新型通过设置上盖板、仪表、功能室、导热铜管、温度感应器和散热铜排,解决了传统的抽出式开关柜散热慢,工作温度高的问题。

交易流程

  • 平台资深顾问将根据买家的需求,提供一对一服务,协助买家挑选到合适的专利。

  • 待买家确认无误后,根据顾问指导进行下单,并签订协议与合同,买家需要支付50%交易款给平台。

  • 平台将负责办理官方变更手续,向国知局提交转让材料。

  • 约10个工作日左右,待买家确认收到专利《变更手续合格通知书》后,向平台支付剩余交易款。

  • 转让成功后,平台会将专利证书原件、专利登记簿副本原件邮寄给买家,同时把交易尾款支付给卖家,保障双方交易顺利。

过户资料

主体资格 转让方提供 受让方提供 平台提供 转让完成,可获得
自然人 身份证复印件,专利证书原件; 身份证复印件
有效个体营业执照
转让申请书
代理委托书
转让协议书
发明人变更声明
专利证书
手续合格通知书
专利登记簿副本
公司 有效的企业营业执照副本复印件,专利证书原件 有效的企业营业执照副本复印件;企业组织机构代码证
平台专属代理事务所将对委托交易全程监督,确保所有交易合同及相关文件合法有效。

发布求购信息