当前位置: 首页 > 知识产权交易 > 专利转让 >

待交易一种门窗组装用工作台

专利号:CN201920727044.2 已授权

申请日:2023-02-03发布日期:2023-02-03

立即收藏 立即询价 转让价格:询价

专利摘要

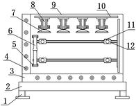
本实用新型公开了一种门窗组装用工作台,包括底座,所述底座顶部外壁通过螺栓固定有固定支架,且底座底部四角外壁均通过焊接有支撑腿,所述固定支架正面和背面相邻两侧外壁均通过固定栓固定有挡板,且固定支架正面和背面顶部外壁均通过螺栓固定有安装板,两个所述安装板底部外壁均通过螺栓固定有等距离分布的电动推杆,且每个电动推杆延长杆一端外壁均通过螺纹固定有橡胶贴板,所述固定支架靠近橡胶贴板下方的正面和背面外壁均通过螺栓固定有两个固定座,且两个固定座相对一侧外壁均通过螺丝连接有皮带。本实用新型能够对门窗的侧边进行有效固定,提高了门窗组装的稳定性,能够满足不同规格门窗组装的需要。

交易流程

  • 平台资深顾问将根据买家的需求,提供一对一服务,协助买家挑选到合适的专利。

  • 待买家确认无误后,根据顾问指导进行下单,并签订协议与合同,买家需要支付50%交易款给平台。

  • 平台将负责办理官方变更手续,向国知局提交转让材料。

  • 约10个工作日左右,待买家确认收到专利《变更手续合格通知书》后,向平台支付剩余交易款。

  • 转让成功后,平台会将专利证书原件、专利登记簿副本原件邮寄给买家,同时把交易尾款支付给卖家,保障双方交易顺利。

过户资料

主体资格 转让方提供 受让方提供 平台提供 转让完成,可获得
自然人 身份证复印件,专利证书原件; 身份证复印件
有效个体营业执照
转让申请书
代理委托书
转让协议书
发明人变更声明
专利证书
手续合格通知书
专利登记簿副本
公司 有效的企业营业执照副本复印件,专利证书原件 有效的企业营业执照副本复印件;企业组织机构代码证
平台专属代理事务所将对委托交易全程监督,确保所有交易合同及相关文件合法有效。

发布求购信息