当前位置: 首页 > 知识产权交易 > 专利转让 >

待交易一种基于防雷灭弧的一体化密封组件

专利号:CN201910299437.2 已授权

申请日:2023-02-03发布日期:2023-02-03

立即收藏 立即询价 转让价格:询价

专利摘要

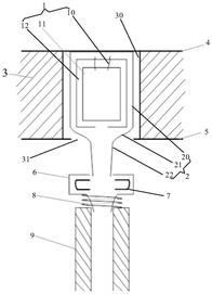
本发明公开了一种基于防雷灭弧的一体化密封组件,所述密封组件包括产气组件、密封包、转盘、灭弧筒,在转盘的盘面上且沿圆周方向设置有若干个均匀分布的凹槽,在每个凹槽的底部中心设置有喷气孔,所述产气组件密封包覆在所述密封包内,所述密封包的上半部分密封包覆安装在凹槽的顶端开口部之下与底部之上,所述密封包的下半部分套设在灭弧筒内,该灭弧筒用于支撑密封包且为所述密封包的下半部能从喷气孔向下伸入至灭弧筒的顶端筒口内进行密封连通时提供支撑力,使密封包的下半部与灭弧筒的顶端开口形成密封状态。本发明的密封组件能有效提高了转盘与灭弧筒之间气流通道的密封性,使喷射气流最大化作用于电弧。

交易流程

  • 平台资深顾问将根据买家的需求,提供一对一服务,协助买家挑选到合适的专利。

  • 待买家确认无误后,根据顾问指导进行下单,并签订协议与合同,买家需要支付50%交易款给平台。

  • 平台将负责办理官方变更手续,向国知局提交转让材料。

  • 约10个工作日左右,待买家确认收到专利《变更手续合格通知书》后,向平台支付剩余交易款。

  • 转让成功后,平台会将专利证书原件、专利登记簿副本原件邮寄给买家,同时把交易尾款支付给卖家,保障双方交易顺利。

过户资料

主体资格 转让方提供 受让方提供 平台提供 转让完成,可获得
自然人 身份证复印件,专利证书原件; 身份证复印件
有效个体营业执照
转让申请书
代理委托书
转让协议书
发明人变更声明
专利证书
手续合格通知书
专利登记簿副本
公司 有效的企业营业执照副本复印件,专利证书原件 有效的企业营业执照副本复印件;企业组织机构代码证
平台专属代理事务所将对委托交易全程监督,确保所有交易合同及相关文件合法有效。

发布求购信息