当前位置: 首页 > 知识产权交易 > 专利转让 >

待交易一种简易组装的一体式气体增压装置

专利号:CN201920505542.2 已授权

申请日:2023-02-03发布日期:2023-02-03

立即收藏 立即询价 转让价格:询价

专利摘要

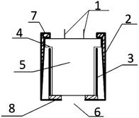
本实用新型公开了一种简易组装的一体式气体增压装置,属于输电线路防雷保护装置领域,包括触发信号输入端子、限位桶、套筒、气丸底座、气丸和喷气孔,触发信号输入端子设置在气丸底座上,气丸底座与气丸连接设置,套筒套设在气丸的外侧,限位桶卡套在套筒和气丸底座的外侧,限位桶上设置喷气孔,套筒对气流进行径向约束,限位桶对气流进行轴向约束,套筒与限位桶内压强增大,喷气孔处的弯矩提高,高气压气流喷射。限位桶和套筒均设置为硬质结构。本装置提升固相式灭弧防雷装置安全能力,外部结构没有强化的条件下,不损坏外部结构,提高产气外部结构的密封强度来增强气体压强,使产气材料燃料燃烧更充分,产气更集中且方向可控,进一步提升灭弧效果。

交易流程

  • 平台资深顾问将根据买家的需求,提供一对一服务,协助买家挑选到合适的专利。

  • 待买家确认无误后,根据顾问指导进行下单,并签订协议与合同,买家需要支付50%交易款给平台。

  • 平台将负责办理官方变更手续,向国知局提交转让材料。

  • 约10个工作日左右,待买家确认收到专利《变更手续合格通知书》后,向平台支付剩余交易款。

  • 转让成功后,平台会将专利证书原件、专利登记簿副本原件邮寄给买家,同时把交易尾款支付给卖家,保障双方交易顺利。

过户资料

主体资格 转让方提供 受让方提供 平台提供 转让完成,可获得
自然人 身份证复印件,专利证书原件; 身份证复印件
有效个体营业执照
转让申请书
代理委托书
转让协议书
发明人变更声明
专利证书
手续合格通知书
专利登记簿副本
公司 有效的企业营业执照副本复印件,专利证书原件 有效的企业营业执照副本复印件;企业组织机构代码证
平台专属代理事务所将对委托交易全程监督,确保所有交易合同及相关文件合法有效。

发布求购信息