当前位置: 首页 > 知识产权交易 > 专利转让 >

待交易一种中药超声提取装置

专利号:CN201920440505.8 已授权

申请日:2023-02-03发布日期:2023-02-03

立即收藏 立即询价 转让价格:询价

专利摘要

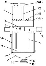
本实用新型涉及一种中药超声提取装置,包括药材粉碎机和提取罐,药材粉碎机包括机体、进药漏斗及粉碎装置,进药漏斗设置在机体的上端,粉碎装置包括电机、转动轴、粉碎刀头及环形磨圈,电机设置在机体的上端中部,转动轴一端与电机连接,另一端与转动轴连接,粉碎刀头设置于机体内,并固定套设于转动轴上,粉碎刀头外周设有环形磨圈,该环形磨圈内周设有磨齿,该磨齿配合粉碎刀头粉碎磨切,环形磨圈固定设置在机体内;机体的下端通过药物通道管连接提取罐,提取罐包括罐体,罐体内部设置有超声波发生体,罐体的底部设置有出液管。本实用新型在提取前先对中药材进行粉碎预处理,研磨效率高,再在提取罐内进行超声提取,提取效率高,提取时间短。

交易流程

  • 平台资深顾问将根据买家的需求,提供一对一服务,协助买家挑选到合适的专利。

  • 待买家确认无误后,根据顾问指导进行下单,并签订协议与合同,买家需要支付50%交易款给平台。

  • 平台将负责办理官方变更手续,向国知局提交转让材料。

  • 约10个工作日左右,待买家确认收到专利《变更手续合格通知书》后,向平台支付剩余交易款。

  • 转让成功后,平台会将专利证书原件、专利登记簿副本原件邮寄给买家,同时把交易尾款支付给卖家,保障双方交易顺利。

过户资料

主体资格 转让方提供 受让方提供 平台提供 转让完成,可获得
自然人 身份证复印件,专利证书原件; 身份证复印件
有效个体营业执照
转让申请书
代理委托书
转让协议书
发明人变更声明
专利证书
手续合格通知书
专利登记簿副本
公司 有效的企业营业执照副本复印件,专利证书原件 有效的企业营业执照副本复印件;企业组织机构代码证
平台专属代理事务所将对委托交易全程监督,确保所有交易合同及相关文件合法有效。

发布求购信息