当前位置: 首页 > 知识产权交易 > 专利转让 >

待交易一种快速剥香蕉皮装置

专利号:CN202021810635.5 已授权

申请日:2023-02-03发布日期:2023-02-03

立即收藏 立即询价 转让价格:询价

专利摘要

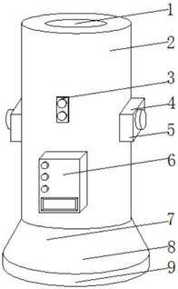
本实用新型公开了一种快速剥香蕉皮装置,包括筒体,所述筒体的底端设置有收集支撑组件,所述筒体的内侧一体成型设置有内胆,所述内胆的底部固定安装有电动推杆,所述电动推杆的底端固定安装有顶板。该一种快速剥香蕉皮装置,可将需要剥皮的香蕉导入到筒体内部的内胆中去,在导入的过程中通过刀片将香蕉两侧划开两道口子,通过气缸带动伸缩杆进行实时延伸,使真空吸盘能够与香蕉皮外表面进行实时接触,通过真空泵和导流板进行实时抽吸,使真空吸盘内部气压改变能够将香蕉皮吸附,然后通过电动推杆推动顶板将香蕉从进料口顶出,代替了人工进行实时剥皮,避免对香蕉造成损坏,降低了工作人员的劳动强度,大大提高了剥皮的效率。

交易流程

  • 平台资深顾问将根据买家的需求,提供一对一服务,协助买家挑选到合适的专利。

  • 待买家确认无误后,根据顾问指导进行下单,并签订协议与合同,买家需要支付50%交易款给平台。

  • 平台将负责办理官方变更手续,向国知局提交转让材料。

  • 约10个工作日左右,待买家确认收到专利《变更手续合格通知书》后,向平台支付剩余交易款。

  • 转让成功后,平台会将专利证书原件、专利登记簿副本原件邮寄给买家,同时把交易尾款支付给卖家,保障双方交易顺利。

过户资料

主体资格 转让方提供 受让方提供 平台提供 转让完成,可获得
自然人 身份证复印件,专利证书原件; 身份证复印件
有效个体营业执照
转让申请书
代理委托书
转让协议书
发明人变更声明
专利证书
手续合格通知书
专利登记簿副本
公司 有效的企业营业执照副本复印件,专利证书原件 有效的企业营业执照副本复印件;企业组织机构代码证
平台专属代理事务所将对委托交易全程监督,确保所有交易合同及相关文件合法有效。

发布求购信息