当前位置: 首页 > 知识产权交易 > 专利转让 >

待交易一种畜用电动采精装置

专利号:CN202021618339.5 已授权

申请日:2023-02-03发布日期:2023-02-03

立即收藏 立即询价 转让价格:询价

专利摘要

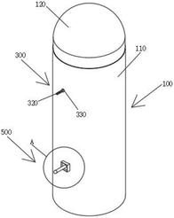
本实用新型公开了一种畜用电动采精装置,涉及牲畜养殖技术领域。本实用新型包括保护机构和移动机构,保护机构固连有仿真机构保护机构挤压固定有加热夹紧机构,保护机构固连有两个储存机构,保护机构固连有流出机构。本实用新型通过假阴道内壁均匀固连有多个刺激凸块,两个半圆环内部均固连有红外线加热板,通过电机转动带动第一U形杆转动,进一步带动第一连接杆转动,使得第一圆球转动时可以上下移动,通过第二连接杆和第一空心圆柱转动连接,使得第二圆球在第一圆球上下移动转动时可以左右移动,使得第二圆球对雄性牲畜的生殖器进行按压,防止在采集牲畜精液时需要人工灌入温水,增大对牛羊等动物的阴茎刺激太小,加强采精效果。

交易流程

  • 平台资深顾问将根据买家的需求,提供一对一服务,协助买家挑选到合适的专利。

  • 待买家确认无误后,根据顾问指导进行下单,并签订协议与合同,买家需要支付50%交易款给平台。

  • 平台将负责办理官方变更手续,向国知局提交转让材料。

  • 约10个工作日左右,待买家确认收到专利《变更手续合格通知书》后,向平台支付剩余交易款。

  • 转让成功后,平台会将专利证书原件、专利登记簿副本原件邮寄给买家,同时把交易尾款支付给卖家,保障双方交易顺利。

过户资料

主体资格 转让方提供 受让方提供 平台提供 转让完成,可获得
自然人 身份证复印件,专利证书原件; 身份证复印件
有效个体营业执照
转让申请书
代理委托书
转让协议书
发明人变更声明
专利证书
手续合格通知书
专利登记簿副本
公司 有效的企业营业执照副本复印件,专利证书原件 有效的企业营业执照副本复印件;企业组织机构代码证
平台专属代理事务所将对委托交易全程监督,确保所有交易合同及相关文件合法有效。

发布求购信息