当前位置: 首页 > 知识产权交易 > 专利转让 >

待交易一种训犬的智能训练毯

专利号:CN202021355911.3 已授权

申请日:2023-02-03发布日期:2023-02-03

立即收藏 立即询价 转让价格:询价

专利摘要

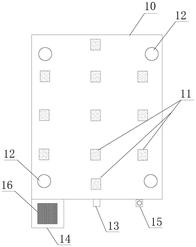
本实用新型公开了一种训犬的智能训练毯,包括柔性材质训练毯体和设置在训练毯体内的训练检测器,在训练毯体内均匀分布有传感检测区域,该训练检测器包括第一处理器、压力传感器、LED指示灯和信号收发检测器,在传感检测区域内设置所述压力传感器,在训练毯体的四个角处分别设置所述LED指示灯,在训练毯体的一侧边缘设置所述信号收发检测器,所述压力传感器、指示灯和信号收发检测器分别与所述第一处理器连接。本实用新型能及时了解犬的训练动作和场景,在训练过程中通过声音和光的信号,便于训练者可及时了解和明确犬训练的进程和效果,及时给予犬信号确认和及时奖励,从而有效激发宠物犬的好奇心和自信心,增强犬的训练兴趣。

交易流程

  • 平台资深顾问将根据买家的需求,提供一对一服务,协助买家挑选到合适的专利。

  • 待买家确认无误后,根据顾问指导进行下单,并签订协议与合同,买家需要支付50%交易款给平台。

  • 平台将负责办理官方变更手续,向国知局提交转让材料。

  • 约10个工作日左右,待买家确认收到专利《变更手续合格通知书》后,向平台支付剩余交易款。

  • 转让成功后,平台会将专利证书原件、专利登记簿副本原件邮寄给买家,同时把交易尾款支付给卖家,保障双方交易顺利。

过户资料

主体资格 转让方提供 受让方提供 平台提供 转让完成,可获得
自然人 身份证复印件,专利证书原件; 身份证复印件
有效个体营业执照
转让申请书
代理委托书
转让协议书
发明人变更声明
专利证书
手续合格通知书
专利登记簿副本
公司 有效的企业营业执照副本复印件,专利证书原件 有效的企业营业执照副本复印件;企业组织机构代码证
平台专属代理事务所将对委托交易全程监督,确保所有交易合同及相关文件合法有效。

发布求购信息