当前位置: 首页 > 知识产权交易 > 专利转让 >

待交易一种香蕉自动剥皮装置

专利号:CN202021473243.4 已授权

申请日:2023-02-03发布日期:2023-02-03

立即收藏 立即询价 转让价格:询价

专利摘要

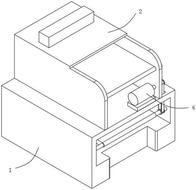
本实用新型涉及香蕉剥皮技术领域,具体地说,涉及一种香蕉自动剥皮装置,其包括剥皮箱和安装在剥皮箱上方的电机,剥皮箱上表面开设有下进料口,剥皮箱内部位于下进料口的下方安装有下传送带,所以下传送带左右两端均固定有下转动销,下转动销与剥皮箱转动连接,位于后端的下转动销右侧固定有下转动轮,电机右端固定有第一转槽,第一转槽与下转动轮之间通过第一皮带转动连接,剥皮箱位于下传送带的上方两侧均安装有挤压块,该实用新型中,通过设置的三角挤压板可对香蕉进行挤压操作,当香蕉受到三角挤压板的作用力时,可进行果皮和果肉分离的操作,设置的切刀,可对香蕉进行切割操作,避免人工操作,影响工作效率。

交易流程

  • 平台资深顾问将根据买家的需求,提供一对一服务,协助买家挑选到合适的专利。

  • 待买家确认无误后,根据顾问指导进行下单,并签订协议与合同,买家需要支付50%交易款给平台。

  • 平台将负责办理官方变更手续,向国知局提交转让材料。

  • 约10个工作日左右,待买家确认收到专利《变更手续合格通知书》后,向平台支付剩余交易款。

  • 转让成功后,平台会将专利证书原件、专利登记簿副本原件邮寄给买家,同时把交易尾款支付给卖家,保障双方交易顺利。

过户资料

主体资格 转让方提供 受让方提供 平台提供 转让完成,可获得
自然人 身份证复印件,专利证书原件; 身份证复印件
有效个体营业执照
转让申请书
代理委托书
转让协议书
发明人变更声明
专利证书
手续合格通知书
专利登记簿副本
公司 有效的企业营业执照副本复印件,专利证书原件 有效的企业营业执照副本复印件;企业组织机构代码证
平台专属代理事务所将对委托交易全程监督,确保所有交易合同及相关文件合法有效。

发布求购信息