当前位置: 首页 > 知识产权交易 > 专利转让 >

待交易一种履带式工程机械底盘系统的防护装置

专利号:CN202220176836.7 已授权

申请日:2023-02-03发布日期:2023-02-03

立即收藏 立即询价 转让价格:询价

专利摘要

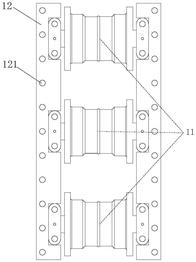
本实用新型公开了一种履带式工程机械底盘系统的防护装置,所述防护装置安装于两侧履带底盘的驱动轮与引导轮之间,所述防护装置包括设置于两侧履带底盘下表面侧部且沿履带底盘前进方向延伸的多条支撑轨,在每条支撑轨的下表面均匀间隔设置有多个与履带啮合的支重轮组件,在每个支撑轨的两侧设置有用于加固所述支重轮组件的中心轴的底盘加固板,在所述底盘加固板的侧部开设有与每个支重轮组件的中心轴匹配的限位卡槽。本实用新型的防护装置可以使底盘设备在行走过程中分解部分应力,减少了支重轮组件受到的冲击,起到了保护支重轮本体固定部位受到冲击、断裂或损伤的危害,从而可有效防止支重轮发生脱落。

交易流程

  • 平台资深顾问将根据买家的需求,提供一对一服务,协助买家挑选到合适的专利。

  • 待买家确认无误后,根据顾问指导进行下单,并签订协议与合同,买家需要支付50%交易款给平台。

  • 平台将负责办理官方变更手续,向国知局提交转让材料。

  • 约10个工作日左右,待买家确认收到专利《变更手续合格通知书》后,向平台支付剩余交易款。

  • 转让成功后,平台会将专利证书原件、专利登记簿副本原件邮寄给买家,同时把交易尾款支付给卖家,保障双方交易顺利。

过户资料

主体资格 转让方提供 受让方提供 平台提供 转让完成,可获得
自然人 身份证复印件,专利证书原件; 身份证复印件
有效个体营业执照
转让申请书
代理委托书
转让协议书
发明人变更声明
专利证书
手续合格通知书
专利登记簿副本
公司 有效的企业营业执照副本复印件,专利证书原件 有效的企业营业执照副本复印件;企业组织机构代码证
平台专属代理事务所将对委托交易全程监督,确保所有交易合同及相关文件合法有效。

发布求购信息