当前位置: 首页 > 知识产权交易 > 专利转让 >

待交易一种多功能五谷杂粮储存柜

专利号:CN201620120696.6 已授权

申请日:2023-02-03发布日期:2023-02-03

立即收藏 立即询价 转让价格:询价

专利摘要

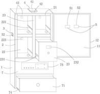
本实用新型提供一种多功能五谷杂粮储存柜,其包括储存柜本体,设置在储存柜本体上部的储存室,设置在储存室内的紫外线杀菌装置、防虫装置、防潮装置和米量监控装置,以及设置在储存柜本体下部的定量取粮装置。本实用新型通过设置紫外线杀菌装置,对储存室内的粮食进行定期杀菌,防止发生霉变;通过设置防虫装置,起到防虫灭菌的作用;通过设置防潮装置,对储存室内的粮良进行监测和控制,使储存室内部保持恒温,保证粮食活性和品质;通过设置米量监控装置,能够对储存室内的大米进行实时监控,方便商家及时送货上门,为使用者提供了方便;通过设置定量取粮装置,实现了定量取粮,避免浪费,而且还能根据使用者需求,称取不同种类和质量的谷物。

交易流程

  • 平台资深顾问将根据买家的需求,提供一对一服务,协助买家挑选到合适的专利。

  • 待买家确认无误后,根据顾问指导进行下单,并签订协议与合同,买家需要支付50%交易款给平台。

  • 平台将负责办理官方变更手续,向国知局提交转让材料。

  • 约10个工作日左右,待买家确认收到专利《变更手续合格通知书》后,向平台支付剩余交易款。

  • 转让成功后,平台会将专利证书原件、专利登记簿副本原件邮寄给买家,同时把交易尾款支付给卖家,保障双方交易顺利。

过户资料

主体资格 转让方提供 受让方提供 平台提供 转让完成,可获得
自然人 身份证复印件,专利证书原件; 身份证复印件
有效个体营业执照
转让申请书
代理委托书
转让协议书
发明人变更声明
专利证书
手续合格通知书
专利登记簿副本
公司 有效的企业营业执照副本复印件,专利证书原件 有效的企业营业执照副本复印件;企业组织机构代码证
平台专属代理事务所将对委托交易全程监督,确保所有交易合同及相关文件合法有效。

发布求购信息