当前位置: 首页 > 知识产权交易 > 专利转让 >

待交易一种土壤取样收集处理装置

专利号:CN201621456616.0 已授权

申请日:2023-02-03发布日期:2023-02-03

立即收藏 立即询价 转让价格:询价

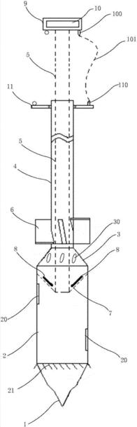
专利摘要

本实用新型公开了一种土壤取样收集处理装置,包括钻头、取样筒、连接盖、钻杆、取样杆、收集槽、数据采集器、推拉手柄和数据处理单元,所述钻头的一端呈尖凸状,该钻头的另一端与取样筒的下端连接,该取样筒的上端与连接盖的下端螺纹连接,该连接盖的上端与所述钻杆的下端螺纹连接,所述取样杆套设于钻杆内,该取样杆的一端从钻杆上端伸出并与推拉手柄固定连接,该取样杆的另一端依次伸入连接盖、取样筒内与设置在取样筒内的收集槽连接,在推拉手柄内设置所述数据处理单元,在收集槽内设置所述数据采集器,该数据采集器与数据处理单元电气连接。本实用新型能够实现同时完成土壤采样、收集和初步的检测分析,为后续取样和检测土壤提供了方便。

交易流程

  • 平台资深顾问将根据买家的需求,提供一对一服务,协助买家挑选到合适的专利。

  • 待买家确认无误后,根据顾问指导进行下单,并签订协议与合同,买家需要支付50%交易款给平台。

  • 平台将负责办理官方变更手续,向国知局提交转让材料。

  • 约10个工作日左右,待买家确认收到专利《变更手续合格通知书》后,向平台支付剩余交易款。

  • 转让成功后,平台会将专利证书原件、专利登记簿副本原件邮寄给买家,同时把交易尾款支付给卖家,保障双方交易顺利。

过户资料

主体资格 转让方提供 受让方提供 平台提供 转让完成,可获得
自然人 身份证复印件,专利证书原件; 身份证复印件
有效个体营业执照
转让申请书
代理委托书
转让协议书
发明人变更声明
专利证书
手续合格通知书
专利登记簿副本
公司 有效的企业营业执照副本复印件,专利证书原件 有效的企业营业执照副本复印件;企业组织机构代码证
平台专属代理事务所将对委托交易全程监督,确保所有交易合同及相关文件合法有效。

发布求购信息