当前位置: 首页 > 知识产权交易 > 专利转让 >

待交易一种土壤重金属检测处理系统

专利号:CN201621455939.8 已授权

申请日:2023-02-03发布日期:2023-02-03

立即收藏 立即询价 转让价格:询价

专利摘要

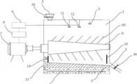
本实用新型公开了一种土壤重金属检测处理系统,其特征在于:所述检测处理系统包括混合容器室、加热室、进料口、出料口、微波发生器、搅拌轴、步进电机、数据处理单元和电极,所述混合容器室的底端外壁与所述加热室紧贴设置,在所述混合容器室的顶部的左端开设所述进料口,所述混合容器室的一侧设置所述步进电机,所述搅拌轴与所述混合容器室的两侧壁转动连接且呈水平设置在所述混合容器室内,该步进电机搅拌轴传动连接,在混合容器室的前侧或后侧的下部设置所述出料口,在混合容器室内的右侧顶端放置所述微波发生器,在混合容器室内的底端两侧分别设置所述电极。本实用新型能够实现重金属快速检测和修复处理,特别适用于现场分析或实验室分析使用。

交易流程

  • 平台资深顾问将根据买家的需求,提供一对一服务,协助买家挑选到合适的专利。

  • 待买家确认无误后,根据顾问指导进行下单,并签订协议与合同,买家需要支付50%交易款给平台。

  • 平台将负责办理官方变更手续,向国知局提交转让材料。

  • 约10个工作日左右,待买家确认收到专利《变更手续合格通知书》后,向平台支付剩余交易款。

  • 转让成功后,平台会将专利证书原件、专利登记簿副本原件邮寄给买家,同时把交易尾款支付给卖家,保障双方交易顺利。

过户资料

主体资格 转让方提供 受让方提供 平台提供 转让完成,可获得
自然人 身份证复印件,专利证书原件; 身份证复印件
有效个体营业执照
转让申请书
代理委托书
转让协议书
发明人变更声明
专利证书
手续合格通知书
专利登记簿副本
公司 有效的企业营业执照副本复印件,专利证书原件 有效的企业营业执照副本复印件;企业组织机构代码证
平台专属代理事务所将对委托交易全程监督,确保所有交易合同及相关文件合法有效。

发布求购信息