当前位置: 首页 > 知识产权交易 > 专利转让 >

待交易一种便携式土壤温湿度检测仪

专利号:CN201621456625.X 已授权

申请日:2023-02-03发布日期:2023-02-03

立即收藏 立即询价 转让价格:询价

专利摘要

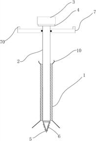
本实用新型公开了一种便携式土壤温湿度检测仪,包括套筒、旋转杆体和数据处理终端和温湿度传感器,所述旋转杆体从所述套筒的上下两端伸出,该套筒的腔体与所述旋转杆体通过螺纹匹配连接,所述旋转杆体的上端部通过设置凸头固定所述数据处理终端,所述旋转杆体的下端为尖端部,在所述尖端部安装所述温湿度传感器,该温湿度传感器与所述数据处理终端电气连接。本实用新型的温湿度检测仪可以及时地检测土壤环境中的温湿度,能随时获知不同深度土壤中的温湿度情况,为土壤修复提供有效的方法选择,改善植物生长环境。

交易流程

  • 平台资深顾问将根据买家的需求,提供一对一服务,协助买家挑选到合适的专利。

  • 待买家确认无误后,根据顾问指导进行下单,并签订协议与合同,买家需要支付50%交易款给平台。

  • 平台将负责办理官方变更手续,向国知局提交转让材料。

  • 约10个工作日左右,待买家确认收到专利《变更手续合格通知书》后,向平台支付剩余交易款。

  • 转让成功后,平台会将专利证书原件、专利登记簿副本原件邮寄给买家,同时把交易尾款支付给卖家,保障双方交易顺利。

过户资料

主体资格 转让方提供 受让方提供 平台提供 转让完成,可获得
自然人 身份证复印件,专利证书原件; 身份证复印件
有效个体营业执照
转让申请书
代理委托书
转让协议书
发明人变更声明
专利证书
手续合格通知书
专利登记簿副本
公司 有效的企业营业执照副本复印件,专利证书原件 有效的企业营业执照副本复印件;企业组织机构代码证
平台专属代理事务所将对委托交易全程监督,确保所有交易合同及相关文件合法有效。

发布求购信息