当前位置: 首页 > 知识产权交易 > 专利转让 >

待交易一种三维空间升降扫描机构

专利号:CN201621275671.X 已授权

申请日:2023-02-03发布日期:2023-02-03

立即收藏 立即询价 转让价格:询价

专利摘要

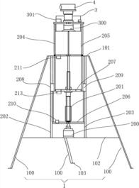
本实用新型公开了一种三维空间升降扫描机构,包括支撑机构、升降机构、控制箱、激光扫描仪和限位开关组件,所述支撑机构采用三脚架支撑结构,所述三脚架支撑结构包括分别安装在三条支撑脚以及安装在三条支撑脚顶端的上支撑台和安装在接近于三条支撑脚底端的下支撑台,所述升降机构底端安装在下支撑台上表面,升降机构的顶端穿过所述上支撑台安装所述控制箱,所述激光扫描仪的外壳与控制箱内设置的步进电机进行传动连接,限位开关组件固定在所述升降机构上且控制升降机构上下运动。本实用新型的三维空间扫描装置能够精准地实现水平圆周转动进行扫描,自动化程度高,大大降低了人工劳动强度。

交易流程

  • 平台资深顾问将根据买家的需求,提供一对一服务,协助买家挑选到合适的专利。

  • 待买家确认无误后,根据顾问指导进行下单,并签订协议与合同,买家需要支付50%交易款给平台。

  • 平台将负责办理官方变更手续,向国知局提交转让材料。

  • 约10个工作日左右,待买家确认收到专利《变更手续合格通知书》后,向平台支付剩余交易款。

  • 转让成功后,平台会将专利证书原件、专利登记簿副本原件邮寄给买家,同时把交易尾款支付给卖家,保障双方交易顺利。

过户资料

主体资格 转让方提供 受让方提供 平台提供 转让完成,可获得
自然人 身份证复印件,专利证书原件; 身份证复印件
有效个体营业执照
转让申请书
代理委托书
转让协议书
发明人变更声明
专利证书
手续合格通知书
专利登记簿副本
公司 有效的企业营业执照副本复印件,专利证书原件 有效的企业营业执照副本复印件;企业组织机构代码证
平台专属代理事务所将对委托交易全程监督,确保所有交易合同及相关文件合法有效。

发布求购信息