当前位置: 首页 > 知识产权交易 > 专利转让 >

待交易一种室内空间升降建模扫描装置

专利号:CN201621275068.1 已授权

申请日:2023-02-03发布日期:2023-02-03

立即收藏 立即询价 转让价格:询价

专利摘要

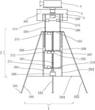
本实用新型公开了一种室内空间升降建模扫描装置,包括支撑机构、升降机构、控制箱、激光扫描仪和水平传感器,所述支撑机构采用三脚架支撑结构,所述三脚架支撑结构包括上支撑板、下支撑板以及分别可伸缩地安装在上支撑板下表面的第一支撑脚、第二支撑脚、第三支撑脚,所述下支撑板水平安装在接近于第一支撑脚、第二支撑脚和第三支撑脚围成的三脚架区域的底端,所述升降机构底端安装在下支撑板上表面,所述升降机构的顶端穿过所述上支撑板安装所述控制箱,所述控制箱输出的转动轴与所述激光扫描仪的外壳连接,所述水平传感器安装在所述控制箱的侧壁上。本实用新型的扫描装置可稳定的升降进行水平扫描,能够精确地控制激光扫描的角度和精度。
信息查询

交易流程

  • 平台资深顾问将根据买家的需求,提供一对一服务,协助买家挑选到合适的专利。

  • 待买家确认无误后,根据顾问指导进行下单,并签订协议与合同,买家需要支付50%交易款给平台。

  • 平台将负责办理官方变更手续,向国知局提交转让材料。

  • 约10个工作日左右,待买家确认收到专利《变更手续合格通知书》后,向平台支付剩余交易款。

  • 转让成功后,平台会将专利证书原件、专利登记簿副本原件邮寄给买家,同时把交易尾款支付给卖家,保障双方交易顺利。

过户资料

主体资格 转让方提供 受让方提供 平台提供 转让完成,可获得
自然人 身份证复印件,专利证书原件; 身份证复印件
有效个体营业执照
转让申请书
代理委托书
转让协议书
发明人变更声明
专利证书
手续合格通知书
专利登记簿副本
公司 有效的企业营业执照副本复印件,专利证书原件 有效的企业营业执照副本复印件;企业组织机构代码证
平台专属代理事务所将对委托交易全程监督,确保所有交易合同及相关文件合法有效。

发布求购信息