当前位置: 首页 > 知识产权交易 > 专利转让 >

待交易一种室内空间升降扫描装置

专利号:CN201621274482.0 已授权

申请日:2023-02-03发布日期:2023-02-03

立即收藏 立即询价 转让价格:询价

专利摘要

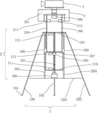
本实用新型公开了一种室内空间升降扫描装置,包括支撑机构、升降机构、控制箱和激光扫描仪,所述支撑机构采用三脚架支撑结构,所述三脚架支撑结构包括分别可拆卸安装在第一支撑脚、第二支撑脚、第三支撑脚顶端的上支撑板和可拆卸安装在接近于第一支撑脚、第二支撑脚、第三支撑脚底端的下支撑板,所述升降机构底端安装在下支撑板上表面,所述升降机构的顶端穿过所述上支撑板安装所述控制箱,所述控制箱通过转动轴与所述激光扫描仪连接。本实用新型的升降扫描装置可稳定的升降,能够精确地控制激光扫描位置的精度,定位精度好,能有效扩大激光竖直方向的扫描范围和水平方向的旋转扫描范围。

交易流程

  • 平台资深顾问将根据买家的需求,提供一对一服务,协助买家挑选到合适的专利。

  • 待买家确认无误后,根据顾问指导进行下单,并签订协议与合同,买家需要支付50%交易款给平台。

  • 平台将负责办理官方变更手续,向国知局提交转让材料。

  • 约10个工作日左右,待买家确认收到专利《变更手续合格通知书》后,向平台支付剩余交易款。

  • 转让成功后,平台会将专利证书原件、专利登记簿副本原件邮寄给买家,同时把交易尾款支付给卖家,保障双方交易顺利。

过户资料

主体资格 转让方提供 受让方提供 平台提供 转让完成,可获得
自然人 身份证复印件,专利证书原件; 身份证复印件
有效个体营业执照
转让申请书
代理委托书
转让协议书
发明人变更声明
专利证书
手续合格通知书
专利登记簿副本
公司 有效的企业营业执照副本复印件,专利证书原件 有效的企业营业执照副本复印件;企业组织机构代码证
平台专属代理事务所将对委托交易全程监督,确保所有交易合同及相关文件合法有效。

发布求购信息