当前位置: 首页 > 知识产权交易 > 专利转让 >

待交易一种自动售货机系统

专利号:CN201810917664.2 已授权

申请日:2023-02-03发布日期:2023-02-03

立即收藏 立即询价 转让价格:询价

专利摘要

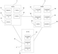
本发明公开了一种自动售货机系统,属于自动化领域,包括售货端、用户端和管理端,所述售货端分别与用户端和管理端连接,所述用户端与管理端连接。售货端设置了试吃单元,用户可以通过试吃体验产品的口感,同时通过试吃后用户填写的返回意见给厂家,厂家可以根据用户反馈的意见进行调整产品的制作参数或者工艺,使产品更加适合用户的口感,更好满足用户的需求,同时通过电子的自动试吃反馈,可以减少厂家的收集用户反馈意见的成本;同时用户端设置了游戏互动单元和移动端辅助单元,能够很好吸引客户,能形成产品的客户群,加大自动售货机的售货量;活动管理单元进行信息推送减少了产品线下推广的费用支出,可以大大的减少厂家的费用支出。

交易流程

  • 平台资深顾问将根据买家的需求,提供一对一服务,协助买家挑选到合适的专利。

  • 待买家确认无误后,根据顾问指导进行下单,并签订协议与合同,买家需要支付50%交易款给平台。

  • 平台将负责办理官方变更手续,向国知局提交转让材料。

  • 约10个工作日左右,待买家确认收到专利《变更手续合格通知书》后,向平台支付剩余交易款。

  • 转让成功后,平台会将专利证书原件、专利登记簿副本原件邮寄给买家,同时把交易尾款支付给卖家,保障双方交易顺利。

过户资料

主体资格 转让方提供 受让方提供 平台提供 转让完成,可获得
自然人 身份证复印件,专利证书原件; 身份证复印件
有效个体营业执照
转让申请书
代理委托书
转让协议书
发明人变更声明
专利证书
手续合格通知书
专利登记簿副本
公司 有效的企业营业执照副本复印件,专利证书原件 有效的企业营业执照副本复印件;企业组织机构代码证
平台专属代理事务所将对委托交易全程监督,确保所有交易合同及相关文件合法有效。

发布求购信息