当前位置: 首页 > 知识产权交易 > 专利转让 >

待交易一种旋风分离器

专利号:CN201920410659.2 已授权

申请日:2023-02-03发布日期:2023-02-03

立即收藏 立即询价 转让价格:询价

专利摘要

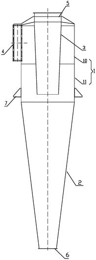
本实用新型公开了一种旋风分离器,所述旋风分离器包括圆筒体、锥筒体和两端开口的内胆,所述圆筒体和锥筒体呈上下一体连接,所述内胆从排气口插入至圆筒体内,在圆筒体的顶端侧边设有切向入口,在圆筒体的顶部中央设有排气口,在锥筒体的底端设置有排料口,该内胆的上端固定在圆筒体的排气口边缘,所述内胆的下端悬挂在圆筒体内。本实用新型的内胆在筒体的高度与切向入口高度比例合理适中,使得排出气体含尘量最低,提高物气的分离效果,旋风分离器能有效提高物气的分离能力、分离效率和使用寿命。

交易流程

  • 平台资深顾问将根据买家的需求,提供一对一服务,协助买家挑选到合适的专利。

  • 待买家确认无误后,根据顾问指导进行下单,并签订协议与合同,买家需要支付50%交易款给平台。

  • 平台将负责办理官方变更手续,向国知局提交转让材料。

  • 约10个工作日左右,待买家确认收到专利《变更手续合格通知书》后,向平台支付剩余交易款。

  • 转让成功后,平台会将专利证书原件、专利登记簿副本原件邮寄给买家,同时把交易尾款支付给卖家,保障双方交易顺利。

过户资料

主体资格 转让方提供 受让方提供 平台提供 转让完成,可获得
自然人 身份证复印件,专利证书原件; 身份证复印件
有效个体营业执照
转让申请书
代理委托书
转让协议书
发明人变更声明
专利证书
手续合格通知书
专利登记簿副本
公司 有效的企业营业执照副本复印件,专利证书原件 有效的企业营业执照副本复印件;企业组织机构代码证
平台专属代理事务所将对委托交易全程监督,确保所有交易合同及相关文件合法有效。

发布求购信息