当前位置: 首页 > 知识产权交易 > 专利转让 >

待交易一种雾化清洁油烟喷水装置

专利号:CN201920968547.9 已授权

申请日:2023-02-02发布日期:2023-02-02

立即收藏 立即询价 转让价格:询价

专利摘要

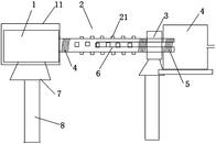
本实用新型公开了一种雾化清洁油烟喷水装置,包括电机、喷水轴、轴承和蓄能水箱,所述喷水轴的一端与电机连接,通过电机带动喷水轴转动,喷水轴与电机连接处设置有水封,该喷水轴的另一端固定在轴承上并与蓄能水箱连接,该连接处设置有水封,所述蓄能水箱内设有循环水导入轴,该循环水导入轴连通蓄能水箱和喷水轴,所述喷水轴上分布有雾化头,该雾化头上设置有雾化孔,所述雾化孔朝向不同方向。本实用新型提供了一种结构简单、使用方便、能够将水充分雾化并与油烟充分接触进行分离净化的喷水装置。

交易流程

  • 平台资深顾问将根据买家的需求,提供一对一服务,协助买家挑选到合适的专利。

  • 待买家确认无误后,根据顾问指导进行下单,并签订协议与合同,买家需要支付50%交易款给平台。

  • 平台将负责办理官方变更手续,向国知局提交转让材料。

  • 约10个工作日左右,待买家确认收到专利《变更手续合格通知书》后,向平台支付剩余交易款。

  • 转让成功后,平台会将专利证书原件、专利登记簿副本原件邮寄给买家,同时把交易尾款支付给卖家,保障双方交易顺利。

过户资料

主体资格 转让方提供 受让方提供 平台提供 转让完成,可获得
自然人 身份证复印件,专利证书原件; 身份证复印件
有效个体营业执照
转让申请书
代理委托书
转让协议书
发明人变更声明
专利证书
手续合格通知书
专利登记簿副本
公司 有效的企业营业执照副本复印件,专利证书原件 有效的企业营业执照副本复印件;企业组织机构代码证
平台专属代理事务所将对委托交易全程监督,确保所有交易合同及相关文件合法有效。

发布求购信息