当前位置: 首页 > 知识产权交易 > 专利转让 >

待交易一种制作蛋黄酥用的提升塔

专利号:CN201921025305.2 已授权

申请日:2023-02-02发布日期:2023-02-02

立即收藏 立即询价 转让价格:询价

专利摘要

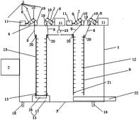
本实用新型公开了一种制作蛋黄酥用的提升塔,它包括机架、进塔机构、驱动装置、两个传送机构和控制箱,所述机架包括底板和顶板,在底板和顶板之间设置4根支撑脚,所述四条支撑脚垂直设置于底板相对的两端;所述两个传送机构相对设置于底板与顶板之间,所述两个传送机构分别包括相对设置于底板和顶板之间的同步带、两个第一从动轮、两个第二从动轮、两个第一转轴,所述两个第一从动轮分别设置于第一转轴的两端,所述同步带绕设于同一侧的第一从动轮和第二从动轮上,所述同步带上设置有若干支撑块,本实用新型增加了储存容量的同时亦有利于节省空间,而且本实用新型结构简单,成本较低。

交易流程

  • 平台资深顾问将根据买家的需求,提供一对一服务,协助买家挑选到合适的专利。

  • 待买家确认无误后,根据顾问指导进行下单,并签订协议与合同,买家需要支付50%交易款给平台。

  • 平台将负责办理官方变更手续,向国知局提交转让材料。

  • 约10个工作日左右,待买家确认收到专利《变更手续合格通知书》后,向平台支付剩余交易款。

  • 转让成功后,平台会将专利证书原件、专利登记簿副本原件邮寄给买家,同时把交易尾款支付给卖家,保障双方交易顺利。

过户资料

主体资格 转让方提供 受让方提供 平台提供 转让完成,可获得
自然人 身份证复印件,专利证书原件; 身份证复印件
有效个体营业执照
转让申请书
代理委托书
转让协议书
发明人变更声明
专利证书
手续合格通知书
专利登记簿副本
公司 有效的企业营业执照副本复印件,专利证书原件 有效的企业营业执照副本复印件;企业组织机构代码证
平台专属代理事务所将对委托交易全程监督,确保所有交易合同及相关文件合法有效。

发布求购信息