当前位置: 首页 > 知识产权交易 > 专利转让 >

待交易一种玻璃转向装置

专利号:CN201920790515.4 已授权

申请日:2023-02-02发布日期:2023-02-02

立即收藏 立即询价 转让价格:询价

专利摘要

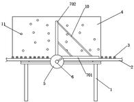
本实用新型涉及一种玻璃转向装置,包括机架、传动辊道、旋转装置及挡板,所述传动辊道设置于所述机架上,所述旋转装置设置于传动辊道上表面的一侧,所述挡板设置于传动辊道上表面的另一侧边沿;所述旋转装置包括旋转盘、旋转轴及旋转杆,所述旋转轴设置于机架上,所述旋转盘与旋转轴的一端连接,所述旋转杆的一端设置于旋转轴上,所述旋转杆朝向挡板的一侧垂直设置有多个连接杆,连接杆与传动辊道上的传动辊平行设置,且当旋转杆旋转至与传动辊道同一水平面时,连接杆置于两相邻传动辊的间隙之间。本实用新型的玻璃转向装置结构简单,安全可靠,使用方便,并且减轻了工人劳动强度,提高了生产效率。

交易流程

  • 平台资深顾问将根据买家的需求,提供一对一服务,协助买家挑选到合适的专利。

  • 待买家确认无误后,根据顾问指导进行下单,并签订协议与合同,买家需要支付50%交易款给平台。

  • 平台将负责办理官方变更手续,向国知局提交转让材料。

  • 约10个工作日左右,待买家确认收到专利《变更手续合格通知书》后,向平台支付剩余交易款。

  • 转让成功后,平台会将专利证书原件、专利登记簿副本原件邮寄给买家,同时把交易尾款支付给卖家,保障双方交易顺利。

过户资料

主体资格 转让方提供 受让方提供 平台提供 转让完成,可获得
自然人 身份证复印件,专利证书原件; 身份证复印件
有效个体营业执照
转让申请书
代理委托书
转让协议书
发明人变更声明
专利证书
手续合格通知书
专利登记簿副本
公司 有效的企业营业执照副本复印件,专利证书原件 有效的企业营业执照副本复印件;企业组织机构代码证
平台专属代理事务所将对委托交易全程监督,确保所有交易合同及相关文件合法有效。

发布求购信息